Запчасти Komatsu D65E-12 ТРАНСМИССИЯ (QUICK ВОЗВРАТ. КЛАПАН) СИЛОВАЯ ПЕРЕДАЧА И КОНЕЧНАЯ ПЕРЕДАЧА

Схема запчастей Komatsu D65E-12 - ТРАНСМИССИЯ (QUICK ВОЗВРАТ. КЛАПАН) СИЛОВАЯ ПЕРЕДАЧА И КОНЕЧНАЯ ПЕРЕДАЧА
FIT
1:1
100%

Артикул

Название

Примечание

Количество

|1

14X-15-00011

TRANSMISSION ASS'Y,(D65E¤P)

SN: 60737-UP

1шт.

|1

14X-15-00010

TRANSMISSION ASS'Y,(D65E¤P)

SN: 60001-60736

1шт.

|1

14Z-15-00011

TRANSMISSION ASS'Y,(D65EX¤PX)

SN: 60737-UP

1шт.

|1

14Z-15-00010

TRANSMISSION ASS'Y,(D65EX¤PX)

SN: 60001-60736

1шт.

|$$5

THESE ASSEMBLIES CONSIST OF ALL PARTS SHOWN IN FIGS.F2320-0102 TO F2320-1002.

-1шт.

|1

14X-15-00312

CONTROL VALVE ASS'Y

SN: 60777-UP

1шт.

|1

14X-15-00311

CONTROL VALVE ASS'Y

SN: 60651-60776

1шт.

|1

14X-15-00310

CONTROL VALVE ASS'Y

SN: 60001-60650

1шт.

|$$9

THIS ASSEMBLY CONSISTS OF ALL PARTS SHOWN IN FIGS.F2320-0602 AND F2320-0702.

-1шт.

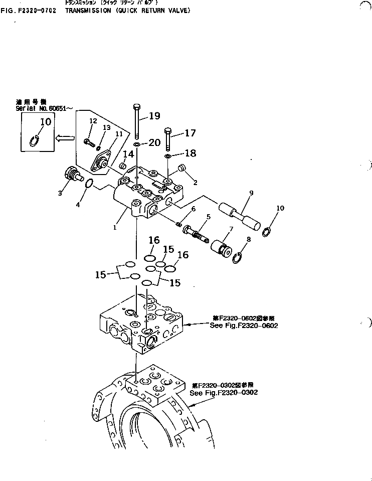
1

134-15-35411

BODY

SN: 60651-UP

1шт.

|1

134-15-35410

BODY

SN: 60001-60650

1шт.

2

07043-00415

PLUG

SN: 60001-UP

1шт.

3

134-15-35360

PLUG

SN: 60001-UP

1шт.

4

07002-03034

O-RING (K4)

SN: 60001-UP

1шт.

|5

14X-15-15330

VALVE

SN: 60862-UP

1шт.

5

0

VALVE

SN: 60862-UP

1шт.

|5

0

VALVE

SN: 60001-60861

1шт.

6

0

PLUG

SN: 60862-UP

1шт.

|6

0

PLUG

SN: 60001-60861

1шт.

7

134-15-15350

SLEEVE

SN: 60001-UP

1шт.

8

04065-03212

RING

SN: 60001-UP

1шт.

9

134-15-25390

SPACER

SN: 60001-UP

1шт.

10

04065-02512

RING

SN: 60651-UP

2шт.

|10

04065-02512

RING

SN: 60001-60650

1шт.

11

134-15-25190

COVER

SN: 60001-60650

1шт.

12

01010-50820

BOLT

SN: 60001-60650

2шт.

13

01643-30823

WASHER

SN: 60001-60650

2шт.

14

07043-00108

PLUG

SN: 60651-UP

1шт.

15

07000-73025

O-RING (K4)

SN: 60001-UP

5шт.

16

07000-73030

O-RING (K4)

SN: 60001-UP

2шт.

17

01010-51055

BOLT

SN: 60001-UP

4шт.

18

01643-31032

WASHER

SN: 60001-UP

4шт.

19

01011-51010

BOLT

SN: 60001-UP

4шт.

20

01643-31032

WASHER

SN: 60001-UP

4шт.

Выбрано товаров: 34