Запчасти Komatsu D65E-12 СИЛОВАЯ ЛИНИЯ (ОХЛАДИТЕЛЬ МАСЛ. ЛИНИЯ) СИЛОВАЯ ПЕРЕДАЧА И КОНЕЧНАЯ ПЕРЕДАЧА

Схема запчастей Komatsu D65E-12 - СИЛОВАЯ ЛИНИЯ (ОХЛАДИТЕЛЬ МАСЛ. ЛИНИЯ) СИЛОВАЯ ПЕРЕДАЧА И КОНЕЧНАЯ ПЕРЕДАЧА
FIT
1:1
100%

Артикул

Название

Примечание

Количество

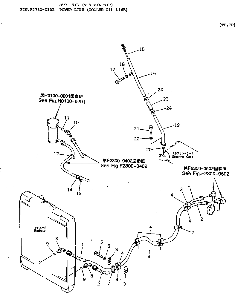
1

07102-20630

HOSE

SN: 60001-UP

1шт.

2

07102-20627

HOSE

SN: 60001-UP

1шт.

3

07094-20620

CLAMP

SN: 60001-UP

8шт.

4

07095-00628

CUSHION

SN: 60001-UP

8шт.

5

01010-51270

BOLT

SN: 60001-UP

4шт.

6

01643-31232

WASHER

SN: 60001-UP

4шт.

7

08034-00536

BAND

SN: 60001-UP

3шт.

8

14X-49-13310

ELBOW

SN: 60001-UP

2шт.

9

07002-32434

O-RING

SN: 60001-UP

2шт.

10

07230-20628

UNION

SN: 60001-UP

1шт.

11

07002-32434

O-RING

SN: 60001-UP

1шт.

12

08034-00536

BAND

SN: 60001-UP

4шт.

13

04434-53412

CLIP

SN: 60001-UP

1шт.

14

07095-20627

CUSHION

SN: 60001-UP

1шт.

15

14X-49-12212

GAUGE

SN: 60001-UP

1шт.

16

14X-49-12222

FILLER

SN: 60001-UP

1шт.

17

01010-51225

BOLT

SN: 60001-UP

2шт.

18

01643-31232

WASHER

SN: 60001-UP

2шт.

19

14X-49-12230

FILLER

SN: 60001-UP

1шт.

20

07000-73035

O-RING

SN: 60001-UP

1шт.

21

01010-51245

BOLT

SN: 60001-UP

1шт.

22

01643-31232

WASHER

SN: 60001-UP

1шт.

23

07260-23211

HOSE

SN: 60001-UP

1шт.

24

07281-00549

CLAMP

SN: 60001-UP

1шт.

Выбрано товаров: 24