Запчасти Komatsu D65E-12 БАЛКА БАЛАНСИРА И ПОВОРОТН. ШКВОРЕНЬ ОСНОВН. РАМА И КОМПОНЕНТЫ

Схема запчастей Komatsu D65E-12 - БАЛКА БАЛАНСИРА И ПОВОРОТН. ШКВОРЕНЬ ОСНОВН. РАМА И КОМПОНЕНТЫ
FIT
1:1
100%

Артикул

Название

Примечание

Количество

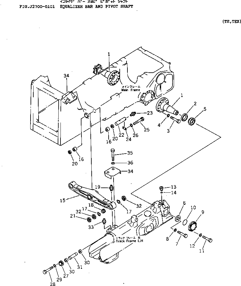
|1

14X-30-00210

PIVOT SHAFT ASS'Y

SN: 60001-UP

2шт.

1

14X-30-17111

SHAFT

SN: 60001-UP

1шт.

2

14Y-30-18160

RING

SN: 60001-UP

1шт.

3

01010-52075

BOLT

SN: 60001-UP

24шт.

4

01643-32060

WASHER

SN: 60001-UP

24шт.

5

14Y-30-18150

SEAL

SN: 60001-UP

2шт.

6

14Y-30-18121

SPACER

SN: 60001-UP

2шт.

7

01010-52055

BOLT

SN: 60001-UP

8шт.

8

01643-32060

WASHER

SN: 60001-UP

8шт.

9

14Y-30-18111

COVER

SN: 60001-UP

2шт.

10

07000-02145

O-RING

SN: 60001-UP

2шт.

11

01010-52055

BOLT

SN: 60001-UP

8шт.

12

01643-32060

WASHER

SN: 60001-UP

8шт.

13

07040-12414

PLUG

SN: 60001-UP

2шт.

14

07002-02434

O-RING

SN: 60001-UP

2шт.

|15

14X-50-00011

EQUALIZER BAR ASS'Y

SN: 60735-UP

1шт.

|15

14X-50-00010

EQUALIZER BAR ASS'Y

SN: 60001-60734

1шт.

15

0

BAR,EQUALIZER

SN: 60001-UP

1шт.

16

14Y-50-11220

BUSHING

SN: 60001-UP

2шт.

17

04065-09030

RING

SN: 60001-UP

4шт.

18

14Y-50-11460

BUSHING

SN: 60735-UP

2шт.

|18

14Y-50-11381

BUSHING

SN: 60001-60734

2шт.

19

07020-00675

FITTING

SN: 60735-UP

2шт.

|19

07020-00000

FITTING

SN: 60001-60734

2шт.

20

130-09-12911

SEAL

SN: 60001-UP

2шт.

21

14Y-50-11323

SEAL

SN: 60735-UP

4шт.

|21

14Y-50-11322

SEAL

SN: 60001-60734

4шт.

22

14Y-50-11210

PIN

SN: 60001-UP

1шт.

23

07020-00000

FITTING

SN: 60001-UP

1шт.

24

14Y-50-11390

LOCK

SN: 60001-UP

1шт.

25

01010-51640

BOLT

SN: 60001-UP

2шт.

26

01643-31645

WASHER

SN: 60001-UP

2шт.

27

14X-50-12110

COVER

SN: 60001-UP

2шт.

28

01010-51230

BOLT

SN: 60001-UP

8шт.

29

01643-51232

WASHER

SN: 60001-UP

8шт.

30

14Y-50-11421

BUSHING

SN: 60001-UP

4шт.

31

14Y-50-11314

PIN

SN: 60001-UP

2шт.

32

14Y-50-11323

SEAL

SN: 60735-UP

2шт.

|32

14Y-50-11322

SEAL

SN: 60001-60734

2шт.

33

07020-00675

FITTING

SN: 60735-UP

2шт.

|33

07020-00000

FITTING

SN: 60001-60734

2шт.

34

14X-30-11172

COVER

SN: 60001-UP

2шт.

35

01010-51225

BOLT

SN: 60001-UP

4шт.

36

01643-31232

WASHER

SN: 60001-UP

4шт.

Выбрано товаров: 44