Запчасти Komatsu D65E-12 СПЕЦ-Я TBG ДОПОЛН.(№9-) КАБИНА ОПЕРАТОРА И СИСТЕМА УПРАВЛЕНИЯ

Схема запчастей Komatsu D65E-12 - СПЕЦ-Я TBG ДОПОЛН.(№9-) КАБИНА ОПЕРАТОРА И СИСТЕМА УПРАВЛЕНИЯ
FIT
1:1
100%

Артикул

Название

Примечание

Количество

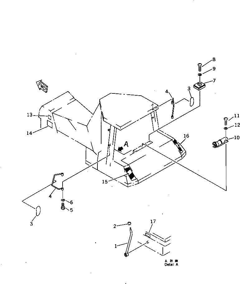
1

14X-A62-1411

LEVER

SN: 60942-65000

1шт.

2

09304-00835

KNOB

SN: 60942-65000

1шт.

3

20Y-54-12810

MIRROR

SN: 60942-65000

2шт.

4

14X-A62-1450

STAY

SN: 60942-65000

2шт.

5

01010-81280

BOLT

SN: 60942-65000

4шт.

6

01643-31232

WASHER

SN: 60942-65000

4шт.

7

20S-54-15210

CASE

SN: 60942-65000

1шт.

8

01220-40616

SCREW

SN: 60942-65000

4шт.

9

01642-20608

WASHER

SN: 60942-65000

4шт.

10

09495-20010

EXTINGUISHER

SN: 60942-65000

1шт.

11

01220-40616

SCREW

SN: 60942-65000

4шт.

12

01642-20608

WASHER

SN: 60942-65000

4шт.

Выбрано товаров: 12