Запчасти Komatsu D65E-12 МАРКИРОВКА (ПОРТУГАЛ.) (ДЛЯ СПЕЦ-Я TBG ИЛИ REGULATION OF EC INCLUSION) (DE)(№9-9) МАРКИРОВКА

Схема запчастей Komatsu D65E-12 - МАРКИРОВКА (ПОРТУГАЛ.) (ДЛЯ СПЕЦ-Я TBG ИЛИ           REGULATION OF EC INCLUSION) (DE)(№9-9) МАРКИРОВКА
FIT
1:1
100%

Артикул

Название

Примечание

Количество

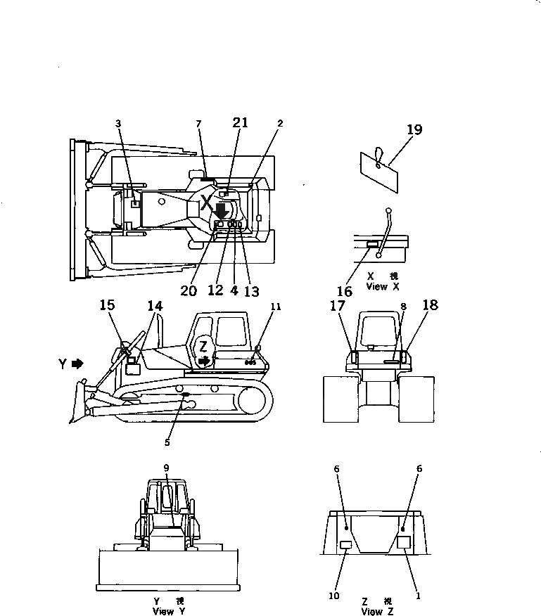
1

14X-98-12710

OIL CHART

SN: 61268-@

1шт.

1

14X-98-11712

OIL CHART

SN: 60948-61267

1шт.

1

14X-98-11711

OIL CHART

SN: 60942-60947

1шт.

2

09653-A0540

PLATE, SAFETY,OPERATING OIL TANK

SN: 61268-62966

1шт.

2

09653-30540

PLATE, SAFETY,OPERATING OIL TANK

SN: 61268-62966

1шт.

2

14X-98-11720

PLATE, SAFETY,OPERATING OIL TANK

SN: 60942-61267

1шт.

3

09653-A0540

PLATE, SAFETY,RADIATOR

SN: 61268-62966

1шт.

3

09653-30540

PLATE, SAFETY,RADIATOR

SN: 61268-62966

1шт.

3

14X-98-11730

PLATE, SAFETY,RADIATOR

SN: 60942-61267

1шт.

4

09654-B1450

PLATE, SAFETY,BEFORE AND AFTER OPERATION

SN: 61268-62966

1шт.

4

14X-98-11740

PLATE, CAUTION,BEFORE AND AFTER OPERATION

SN: 60942-61267

1шт.

5

09657-A0750

PLATE, SAFETY,ADJUSTING TRACK SHOE

SN: 61268-62966

2шт.

5

14X-98-11750

PLATE, SAFETY,ADJUSTING TRACK SHOE

SN: 60942-61267

2шт.

6

14X-98-11170

PLATE, OPERATING,LOCK

SN: 60942-@

2шт.

7

14X-98-11770

PLATE,PRESSURE TEST (C AND B)

SN: 60942-@

1шт.

8

09690-C0630

PLATE, MARK,KOMATSU, REAR

SN: 61441-@

1шт.

8

09690-C0400

PLATE, MARK,KOMATSU, REAR

SN: 60942-61440

1шт.

9

09690-B0280

PLATE, MARK,KOMATSU, FRONT

SN: 60942-@

1шт.

10

09602-00000

PLATE, NAME,(LIMITED SUPPLY)

SN: 60942-@

1шт.

10

04418-13060

SCREW

SN: 60942-@

4шт.

11

14X-98-11340

PLATE, MARK,D65E

SN: 60942-@

2шт.

12

09651-02001

PLATE, SAFETY,BEFORE OPERATING

SN: 60942-61267

1шт.

13

09802-B0750

PLATE, SAFETY,SAFETY COMFIRM OF REAR

SN: 61268-@

1шт.

13

17A-98-11760

PLATE, CAUTION,SAFETY COMFIRM OF REAR

SN: 60942-61267

1шт.

14

09806-B1750

PLATE, SAFETY,KEEP A SAFE DISTANCE

SN: 61268-62966

2шт.

14

17A-98-11730

PLATE, CAUTION,KEEP A SAFE DISTANCE

SN: 60942-61267

2шт.

15

09667-A0900

PLATE, SAFETY

SN: 61268-62966

2шт.

15

20T-98-22330

PLATE, SAFETY

SN: 60942-61267

2шт.

16

362-54-17320

PLATE, OPERATING,FUEL CONTROL LEVER

SN: 60942-@

1шт.

17

14X-A62-1710

REFLECTOR,L.H.

SN: 60942-61267

1шт.

18

14X-A62-1720

REFLECTOR,R.H.

SN: 60942-61267

1шт.

19

09963-A1640

TAG,DO NOT OPERATE

SN: 61268-@

1шт.

19

09963-02000

TAG,DO NOT OPERATE

SN: 60942-61267

1шт.

20

14X-98-11240

PLATE, OPERATING,STEERING LEVER (C AND B)

SN: 60942-@

1шт.

21

14X-98-11250

PLATE, OPERATING,WORK EQUIP.LEVER (TILT DOZER)

SN: 60942-@

1шт.

21

14X-98-11260

PLATE, OPERATING,WORK EQUIP.LEVER (ANGLE DOZER)

SN: 60942-@

1шт.

Выбрано товаров: 36