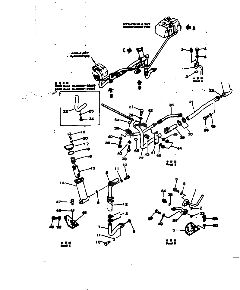
Запчасти Komatsu D65E-6 БОРТОВ. ФРИКЦИОН ТРУБЫ СИСТЕМАУПРАВЛЕНИЯ ПОВОРОТОМ И КОНЕЧНАЯ ПЕРЕДАЧА

Схема запчастей Komatsu D65E-6 - БОРТОВ. ФРИКЦИОН ТРУБЫ СИСТЕМАУПРАВЛЕНИЯ ПОВОРОТОМ И КОНЕЧНАЯ ПЕРЕДАЧА
FIT
1:1
100%

Артикул

Название

Примечание

Количество

1

144-49-13611

TUBE

SN: 20295-UP

1шт.

2

07000-03025

O-RING

SN: 20295-UP

2шт.

3

07042-00108

PLUG

SN: 20295-UP

1шт.

4

01010-31050

BOLT

SN: 20295-UP

2шт.

5

01010-31055

BOLT

SN: 20295-UP

2шт.

6

01602-01030

WASHER

SN: 20295-UP

4шт.

7

144-49-13532

TUBE

SN: 20295-31000

1шт.

7

144-49-18370

TUBE

SN: 31001-UP

1шт.

8

144-49-13590

TUBE

SN: 20295-31000

1шт.

8

144-49-18380

TUBE

SN: 31001-UP

1шт.

9

07000-03032

O-RING

SN: 20295-UP

2шт.

10

01010-31030

BOLT

SN: 20295-UP

2шт.

11

01602-01030

WASHER

SN: 20295-UP

2шт.

12

07260-03216

HOSE

SN: 20295-31000

1шт.

12

07260-24118

HOSE

SN: 31001-UP

1шт.

13

07280-05026

CLAMP

SN: 20295-31000

4шт.

13

07280-05429

CLAMP

SN: 31001-UP

4шт.

13

141-49-00511

STRAINER ASS'Y

SN: 22204-31000

1шт.

13

0

STRAINER ASS'Y

SN: 22204-27038

1шт.

13

144-49-00512

STRAINER ASS'Y

SN: 31001-UP

1шт.

14

0

CASE

SN: 20295-27038

1шт.

14

#141-49-35110

(141-49-35111,141-49-13851)

SN: 20295-27038

-1шт.

14

141-49-35111

CASE

SN: 27039-31000

1шт.

14

141-49-35112

CASE

SN: 31001-UP

1шт.

15

0

STRAINER

SN: 20295-27038

1шт.

15

#144-49-13850

(144-49-13851,141-49-35111)

SN: 20295-27038

-1шт.

15

144-49-13851

STRAINER

SN: 27039-UP

1шт.

16

144-49-13860

SPRING

SN: 20295-UP

1шт.

17

144-49-13840

COVER

SN: 20295-UP

1шт.

18

07000-02060

O-RING

SN: 20295-UP

1шт.

19

01010-31030

BOLT

SN: 20295-UP

3шт.

20

01602-01030

WASHER

SN: 20295-UP

3шт.

21

144-49-13521

TUBE

SN: 20295-31000

1шт.

21

144-49-18390

TUBE

SN: 31001-UP

1шт.

22

144-49-13125

TUBE

SN: 20295-UP

1шт.

23

07000-03025

O-RING

SN: 20295-UP

1шт.

24

07040-01007

PLUG

SN: 20295-22387

1шт.

24

07040-11007

PLUG

SN: 22388-31000

1шт.

25

07000-02008

O-RING

SN: 20295-31000

1шт.

26

01010-31030

BOLT

SN: 20295-UP

2шт.

27

01010-31035

BOLT

SN: 20295-UP

2шт.

28

01602-01030

WASHER

SN: 20295-UP

4шт.

29

07260-03216

HOSE

SN: 20295-31000

1шт.

29

07260-24118

HOSE

SN: 31001-UP

1шт.

30

07280-05026

CLAMP

SN: 20295-31000

4шт.

30

07280-05429

CLAMP

SN: 31001-UP

4шт.

31

144-49-13141

TUBE

SN: 20295-22387

1шт.

31

144-49-13142

TUBE

SN: 22388-UP

1шт.

32

144-49-13130

TUBE

SN: 20295-22387

1шт.

32

144-49-13133

TUBE

SN: 22388-UP

1шт.

33

07000-03025

O-RING

SN: 20295-UP

1шт.

34

07040-01007

PLUG

SN: 20295-22387

1шт.

34

07040-11007

PLUG

SN: 22388-UP

1шт.

35

07000-02008

O-RING

SN: 20295-UP

1шт.

36

07102-00504

HOSE

SN: 20295-22387

1шт.

36

07102-20504

HOSE

SN: 22388-UP

1шт.

37

01010-31050

BOLT

SN: 20295-UP

2шт.

38

01010-31035

BOLT

SN: 20295-UP

1шт.

39

01010-31035

BOLT

SN: 20295-UP

1шт.

40

01602-01030

WASHER

SN: 20295-UP

4шт.

41

141-49-33350

PLATE

SN: 20295-31000

1шт.

41

141-49-33351

PLATE

SN: 31001-UP

1шт.

42

07283-02236

CLIP

SN: 20295-UP

1шт.

43

07283-03442

CLIP

SN: 20295-31000

1шт.

43

07283-14346

CLIP

SN: 31001-UP

1шт.

44

01599-01011

NUT

SN: 20295-UP

4шт.

45

01643-31032

WASHER

SN: 20295-UP

4шт.

46

144-49-13870

BRACKET

SN: 20295-UP

1шт.

47

01040-31430

BOLT

SN: 20295-22387

2шт.

48

01010-31430

BOLT

SN: 22388-UP

2шт.

48

01602-01442

WASHER

SN: 20295-UP

2шт.

49

01010-31225

BOLT

SN: 20295-UP

2шт.

50

01602-01236

WASHER

SN: 20295-UP

2шт.

51

144-49-13330

BRACKET

SN: 20295-UP

1шт.

52

01010-31225

BOLT

SN: 20295-UP

4шт.

53

01602-01236

WASHER

SN: 20295-UP

4шт.

54

07000-02020

O-RING

SN: 20295-UP

1шт.

55

07000-03025

O-RING

SN: 20295-UP

1шт.

Выбрано товаров: 78