Запчасти Komatsu NH-220-CI-2U АНТИКОРРОЗ. ЭЛЕМЕНТ(№-) ОХЛАЖД-Е И ЭЛЕКТРИКАS

Схема запчастей Komatsu NH-220-CI-2U - АНТИКОРРОЗ. ЭЛЕМЕНТ(№-) ОХЛАЖД-Е И ЭЛЕКТРИКАS
FIT
1:1
100%

Артикул

Название

Примечание

Количество

|$0

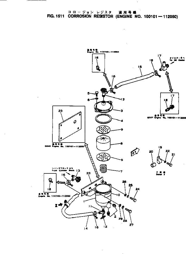
6610-61-8100

RESISTOR ASS'Y,CORROSION

SN: 100101-112050

1шт.

1

6610-61-8111

BODY

SN: 100101-112050

1шт.

2

6610-51-4520

PLUG,DRAIN

SN: 100101-112050

2шт.

3

6610-61-8121

COVER

SN: 100101-112050

1шт.

4

6610-61-8130

GASKET

SN: 100101-112050

1шт.

5

02010-20532

BOLT

SN: 100101-112050

2шт.

6

02300-11120

WASHER

SN: 100101-112050

2шт.

7

6610-61-8150

SPRING

SN: 100101-112050

1шт.

8

6610-61-8210

ELEMENT

SN: 100101-112050

1шт.

9

6610-61-8140

PLATE

SN: 100101-112050

2шт.

10

09647-00125

PLATE, INSTRUCTION

SN: 100101-112050

1шт.

|$11

6610-61-8061

VALVE ASS'Y

SN: 100101-112050

1шт.

11

6610-61-8622

ELBOW

SN: 100101-112050

1шт.

12

07062-00000

VALVE,DRAIN

SN: .-112050

1шт.

12

0

VALVE,DRAIN

SN: 100101-.

1шт.

13

6610-61-8411

VALVE,SHUT-OFF

SN: 100101-112050

2шт.

14

6643-61-8510

HOSE,INLET

SN: 100101-112050

1шт.

15

6676-62-6560

HOSE,OUTLET

SN: 100101-112050

1шт.

16

07281-00259

CLAMP

SN: .-112050

4шт.

16

0

CLAMP

SN: 110748-.

4шт.

16

0

CLAMP

SN: 100101-110747

4шт.

17

6631-61-8670

CONNECTOR

SN: 100101-112050

1шт.

19

6643-61-8550

CLAMP

SN: 100101-112050

2шт.

20

6643-61-8560

FELT

SN: 100101-112050

2шт.

21

02010-20825

BOLT

SN: 100101-112050

1шт.

22

02310-11632

WASHER,SPRING

SN: 100101-112050

1шт.

23

6643-21-6110

BRACKET

SN: 100101-112050

1шт.

24

01010-31240

BOLT

SN: 100101-112050

2шт.

25

01602-01236

WASHER,SPRING

SN: 100101-112050

2шт.

26

01640-21226

WASHER

SN: 100101-112050

2шт.

27

02010-20832

BOLT

SN: 100101-112050

2шт.

28

02310-11632

WASHER,SPRING

SN: 100101-112050

2шт.

29

02300-11730

WASHER

SN: 100101-112050

2шт.

|$0

6610-61-8100

RESISTOR ASS'Y,CORROSION

SN: 100101-112050

1шт.

1

6610-61-8111

BODY

SN: 100101-112050

1шт.

2

6610-51-4520

PLUG,DRAIN

SN: 100101-112050

2шт.

3

6610-61-8121

COVER

SN: 100101-112050

1шт.

4

6610-61-8130

GASKET

SN: 100101-112050

1шт.

5

02010-20532

BOLT

SN: 100101-112050

2шт.

6

02300-11120

WASHER

SN: 100101-112050

2шт.

7

6610-61-8150

SPRING

SN: 100101-112050

1шт.

8

6610-61-8210

ELEMENT

SN: 100101-112050

1шт.

9

6610-61-8140

PLATE

SN: 100101-112050

2шт.

10

09647-00125

PLATE, INSTRUCTION

SN: 100101-112050

1шт.

|$11

6610-61-8061

VALVE ASS'Y

SN: 100101-112050

1шт.

11

6610-61-8622

ELBOW

SN: 100101-112050

1шт.

12

07062-00000

VALVE,DRAIN

SN: .-112050

1шт.

12

0

VALVE,DRAIN

SN: 100101-.

1шт.

13

6610-61-8411

VALVE,SHUT-OFF

SN: 100101-112050

2шт.

14

6643-61-8510

HOSE,INLET

SN: 100101-112050

1шт.

15

6676-62-6560

HOSE,OUTLET

SN: 100101-112050

1шт.

16

07281-00259

CLAMP

SN: .-112050

4шт.

16

0

CLAMP

SN: 110748-.

4шт.

16

0

CLAMP

SN: 100101-110747

4шт.

17

6631-61-8670

CONNECTOR

SN: 100101-112050

1шт.

19

6643-61-8550

CLAMP

SN: 100101-112050

2шт.

20

6643-61-8560

FELT

SN: 100101-112050

2шт.

21

02010-20825

BOLT

SN: 100101-112050

1шт.

22

02310-11632

WASHER,SPRING

SN: 100101-112050

1шт.

23

6643-21-6110

BRACKET

SN: 100101-112050

1шт.

24

01010-31240

BOLT

SN: 100101-112050

2шт.

25

01602-01236

WASHER,SPRING

SN: 100101-112050

2шт.

26

01640-21226

WASHER

SN: 100101-112050

2шт.

27

02010-20832

BOLT

SN: 100101-112050

2шт.

28

02310-11632

WASHER,SPRING

SN: 100101-112050

2шт.

29

02300-11730

WASHER

SN: 100101-112050

2шт.

Выбрано товаров: 66