Запчасти Komatsu D65E-8 СЦЕПКА ЧАСТИ КОРПУСА

Схема запчастей Komatsu D65E-8 - СЦЕПКА ЧАСТИ КОРПУСА
FIT
1:1
100%

Артикул

Название

Примечание

Количество

|$0

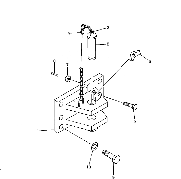
145-69-00011

HITCH ASS'Y

SN: 45001-UP

1шт.

1

145-69-31110

BRACKET

SN: 45001-UP

1шт.

2

130-69-11190

PIN

SN: 45001-UP

1шт.

3

130-70-12210

HOOK

SN: 45001-UP

2шт.

4

150-70-13420

CHAIN

SN: 45001-UP

1шт.

5

09249-00016

LATCH

SN: 45001-UP

1шт.

6

01052-51260

BOLT

SN: 45001-UP

1шт.

7

01592-11215

NUT

SN: 45001-UP

1шт.

8

04050-13025

PIN,COTTER

SN: 45001-UP

1шт.

9

01010-52460

BOLT

SN: 45001-UP

6шт.

10

01643-32460

WASHER

SN: 45001-UP

6шт.

Выбрано товаров: 11