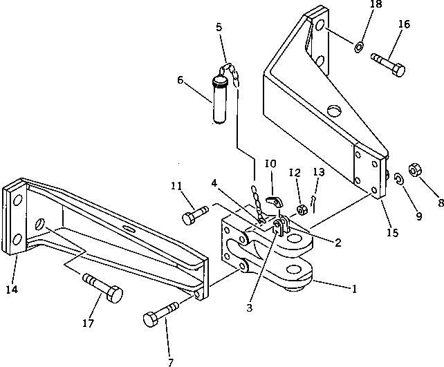
Запчасти Komatsu D65E-8 СЦЕПНОЕ УСТРОЙСТВО (ДЛЯ СКРЕППЕРА) ЧАСТИ КОРПУСА

Схема запчастей Komatsu D65E-8 - СЦЕПНОЕ УСТРОЙСТВО (ДЛЯ СКРЕППЕРА) ЧАСТИ КОРПУСА
FIT
1:1
100%

Артикул

Название

Примечание

Количество

|$0

144-69-00051

DRAWBAR ASS'Y

SN: 45001-UP

1шт.

|$1

144-69-11120

DRAWBAR ASS'Y

SN: 45001-UP

1шт.

1

144-69-11130

DRAWBAR

SN: 45001-UP

1шт.

2

131-69-11120

PLATE

SN: 45001-UP

1шт.

3

131-69-11130

PLATE

SN: 45001-UP

1шт.

4

09245-50060

HOOK

SN: 45001-UP

1шт.

5

09245-24830

CHAIN

SN: 45001-UP

1шт.

6

09247-45180

PIN

SN: 45001-UP

1шт.

7

144-69-11161

BOLT

SN: 45001-UP

4шт.

8

01582-12419

NUT

SN: 45001-UP

4шт.

9

01602-22472

WASHER,SPRING

SN: 45001-UP

4шт.

10

09249-00016

LATCH

SN: 45001-UP

1шт.

11

01052-51260

BOLT

SN: 45001-UP

1шт.

12

01592-11215

NUT

SN: 45001-UP

1шт.

13

04050-13025

PIN,COTTER

SN: 45001-UP

1шт.

14

144-69-11411

BRACKET,L.H.

SN: 45001-UP

1шт.

15

144-69-11421

BRACKET,R.H.

SN: 45001-UP

1шт.

16

01010-83390

BOLT

SN: .-UP

4шт.

16

0

BOLT

SN: 45001-.

4шт.

17

01010-83375

BOLT

SN: 45001-UP

2шт.

18

01643-33380

WASHER

SN: .-UP

6шт.

18

0

WASHER,SPRING

SN: 45001-.

6шт.

Выбрано товаров: 22