Запчасти Komatsu D65E-8 ГИДРОЛИНИЯ (ГИДР. БАК. TO ЦИЛИНДР ПЕРЕКОСА) (/) УПРАВЛ-Е РАБОЧИМ ОБОРУДОВАНИЕМ

Схема запчастей Komatsu D65E-8 - ГИДРОЛИНИЯ (ГИДР. БАК. TO ЦИЛИНДР ПЕРЕКОСА) (/) УПРАВЛ-Е РАБОЧИМ ОБОРУДОВАНИЕМ
FIT
1:1
100%

Артикул

Название

Примечание

Количество

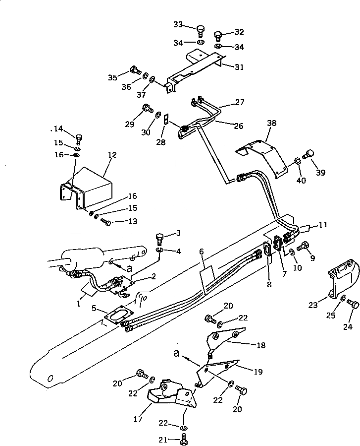
1

07113-00306

HOSE

SN: 45001-UP

2шт.

2

144-Z20-9220

BRACKET

SN: 45001-UP

1шт.

3

01010-51230

BOLT

SN: 45001-UP

6шт.

4

01602-21236

WASHER,SPRING

SN: 45001-UP

6шт.

5

144-Z20-9280

GASKET

SN: 45001-UP

1шт.

6

07113-00316

HOSE

SN: 45001-UP

2шт.

7

144-Z20-9230

BRACKET

SN: 45001-UP

1шт.

8

144-Z20-9270

GASKET

SN: 45001-UP

1шт.

9

01010-51230

BOLT

SN: 45001-UP

4шт.

10

01602-21236

WASHER,SPRING

SN: 45001-UP

4шт.

11

07113-00311

HOSE

SN: 45001-UP

2шт.

12

144-Z20-3230

COVER

SN: 45001-UP

1шт.

13

01010-51225

BOLT

SN: 45001-UP

4шт.

14

01010-51235

BOLT

SN: 45001-UP

1шт.

15

01602-21236

WASHER,SPRING

SN: 45001-UP

5шт.

16

01640-21223

WASHER

SN: 45001-UP

5шт.

17

144-Y20-3230

COVER,(FOR D60E)

SN: 46887-UP

1шт.

17

144-Z20-3230

COVER,(FOR D60E)

SN: 45001-46886

1шт.

17

144-Y20-3230

COVER,(FOR D65E)

SN: 47385-UP

1шт.

17

144-Z20-3230

COVER,(FOR D65E)

SN: 45001-47384

1шт.

18

144-Z20-3240

COVER

SN: 45001-UP

1шт.

19

144-Z20-3250

COVER

SN: 45001-UP

1шт.

20

01010-51225

BOLT

SN: 45001-UP

6шт.

21

01010-51235

BOLT

SN: 45001-UP

1шт.

22

01602-21236

WASHER,SPRING

SN: 45001-UP

7шт.

23

144-Z20-3210

COVER

SN: 45001-UP

1шт.

24

01010-51430

BOLT

SN: 45001-UP

4шт.

25

01602-21442

WASHER,SPRING

SN: 45001-UP

4шт.

26

144-Z20-9240

TUBE

SN: 45001-UP

1шт.

27

144-Z20-9250

TUBE

SN: 45001-UP

1шт.

28

144-Z20-9260

CLAMP

SN: 45001-UP

1шт.

29

01010-51225

BOLT

SN: 45001-UP

1шт.

30

01602-21236

WASHER,SPRING

SN: 45001-UP

1шт.

31

144-Z20-3271

COVER

SN: 45001-UP

1шт.

32

01010-51225

BOLT

SN: 45001-UP

2шт.

33

01010-51230

BOLT

SN: 45001-UP

1шт.

34

01602-21236

WASHER,SPRING

SN: 45001-UP

3шт.

35

01010-51230

BOLT

SN: 45001-UP

1шт.

36

01602-21236

WASHER,SPRING

SN: 45001-UP

1шт.

37

01643-31232

WASHER

SN: 45001-UP

1шт.

38

144-Z20-3291

COVER

SN: 45001-UP

1шт.

39

01010-51225

BOLT

SN: 45001-UP

8шт.

40

01602-21236

WASHER,SPRING

SN: 45001-UP

8шт.

Выбрано товаров: 43