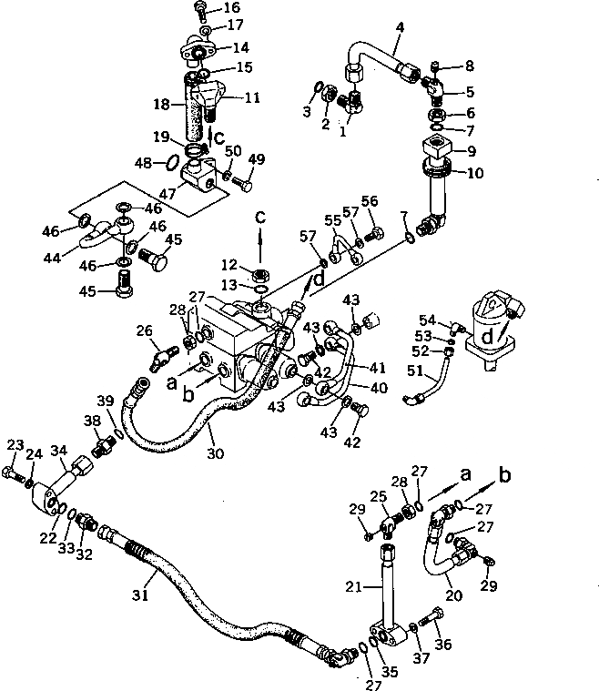
Запчасти Komatsu D65E-8 ГИДРОЛИНИЯ (ДЛЯ ТЯГОВ. ЛЕБЕДКИ) РАБОЧЕЕ ОБОРУДОВАНИЕ

Схема запчастей Komatsu D65E-8 - ГИДРОЛИНИЯ (ДЛЯ ТЯГОВ. ЛЕБЕДКИ) РАБОЧЕЕ ОБОРУДОВАНИЕ
FIT
1:1
100%

Артикул

Название

Примечание

Количество

1

175-916-6150

ELBOW

SN: 45001-UP

1шт.

2

07239-12009

NUT

SN: 45001-UP

1шт.

3

07000-03017

O-RING

SN: 45001-UP

1шт.

4

144-916-6370

TUBE

SN: 45001-UP

1шт.

5

07231-10522

ELBOW

SN: 45001-UP

2шт.

6

07239-12410

NUT

SN: 45001-UP

2шт.

7

07000-03022

O-RING

SN: 45001-UP

2шт.

8

07042-00108

PLUG

SN: 45001-UP

2шт.

9

144-916-6210

JOINT

SN: 45001-UP

1шт.

10

144-916-6220

GROMMET

SN: 45001-UP

1шт.

11

144-916-6230

ELBOW

SN: 45001-UP

1шт.

12

07239-12410

NUT

SN: 45001-UP

1шт.

13

07000-03022

O-RING

SN: 45001-UP

1шт.

14

144-916-6240

TUBE

SN: 45001-UP

1шт.

15

07000-03028

O-RING

SN: 45001-UP

1шт.

16

01010-31035

BOLT

SN: 45001-UP

2шт.

17

01602-01030

WASHER,SPRING

SN: 45001-UP

2шт.

18

07260-02616

HOSE

SN: 45001-UP

1шт.

19

07281-00489

CLAMP

SN: 45001-UP

2шт.

20

144-916-6260

TUBE

SN: 45001-UP

1шт.

21

144-916-6270

TUBE

SN: 45001-UP

1шт.

22

07000-03025

O-RING

SN: 45001-UP

1шт.

23

01010-31055

BOLT

SN: 45001-UP

2шт.

24

01602-01030

WASHER,SPRING

SN: 45001-UP

2шт.

25

07231-10422

ELBOW

SN: 45001-UP

4шт.

26

07232-10422

ELBOW

SN: 45001-UP

1шт.

27

07000-03017

O-RING

SN: 45001-UP

5шт.

28

07239-12009

NUT

SN: 45001-UP

5шт.

29

07042-00108

PLUG

SN: 45001-UP

4шт.

30

07102-20408

HOSE

SN: 45001-UP

1шт.

31

144-916-6390

TUBE

SN: 45001-UP

1шт.

32

07230-10422

UNION

SN: 45001-UP

1шт.

33

07000-03017

O-RING

SN: 45001-UP

1шт.

34

144-916-2790

TUBE

SN: 45001-UP

1шт.

35

07000-03025

O-RING

SN: 45001-UP

1шт.

36

01010-31055

BOLT

SN: 45001-UP

2шт.

37

01602-01030

WASHER,SPRING

SN: 45001-UP

2шт.

38

07230-10422

UNION

SN: 45001-UP

1шт.

39

07000-03017

O-RING

SN: 45001-UP

1шт.

40

144-916-6280

TUBE

SN: 45001-UP

1шт.

41

144-916-6290

TUBE

SN: 45001-UP

1шт.

42

07206-11216

BOLT,JOINT

SN: 45001-UP

4шт.

43

07005-01612

GASKET

SN: 45001-UP

8шт.

44

144-916-6360

TUBE

SN: 45001-UP

1шт.

45

07206-11822

BOLT,JOINT

SN: 45001-UP

2шт.

46

07005-02216

GASKET

SN: 45001-UP

4шт.

47

144-916-6381

JOINT

SN: 45001-UP

1шт.

48

07000-03030

O-RING

SN: 45001-UP

1шт.

49

01010-31030

BOLT

SN: 45001-UP

1шт.

50

01602-01030

WASHER,SPRING

SN: 45001-UP

1шт.

51

144-916-6310

TUBE

SN: 45001-UP

1шт.

52

175-916-6320

NUT

SN: 45001-UP

2шт.

53

175-916-6330

SLEEVE

SN: 45001-UP

2шт.

54

175-916-6340

ELBOW

SN: 45001-UP

2шт.

55

175-916-6350

TUBE

SN: 45001-UP

1шт.

56

07206-10812

BOLT,JOINT

SN: 45001-UP

2шт.

57

07005-01212

GASKET

SN: 45001-UP

4шт.

Выбрано товаров: 0