Запчасти Komatsu D65E-8 ПРЯМ. ОТВАЛ ОТВАЛ (ШУМОПОДАВЛ. СПЕЦ-Я ДЛЯ EC) (DE-8B №7-) (DE-8D №89-)(№7-) ОПЦИОННЫЕ КОМПОНЕНТЫ¤ ИНСТРУМЕНТ И РЕМКОМПЛЕКТЫ

Схема запчастей Komatsu D65E-8 - ПРЯМ. ОТВАЛ ОТВАЛ (ШУМОПОДАВЛ. СПЕЦ-Я ДЛЯ EC)       (DE-8B №7-) (DE-8D №89-)(№7-) ОПЦИОННЫЕ КОМПОНЕНТЫ¤ ИНСТРУМЕНТ И РЕМКОМПЛЕКТЫ
FIT
1:1
100%

Артикул

Название

Примечание

Количество

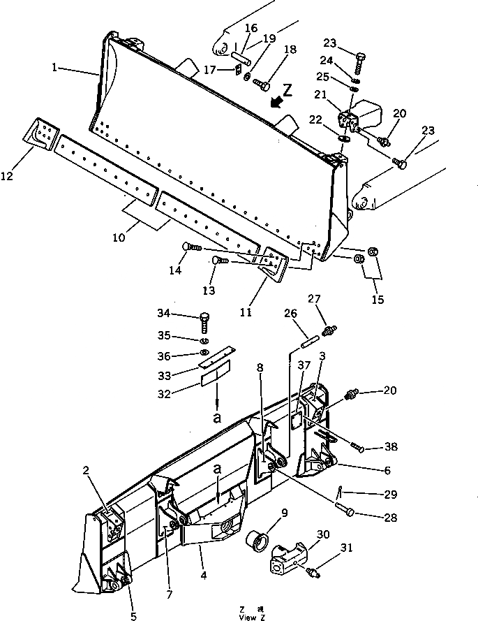
1

144-Z17-1510

BLADE

SN: 45672-UP

1шт.

2

144-920-1551

BRACKET,L.H. (WELDED)

SN: 45672-UP

1шт.

3

144-920-1560

BRACKET,R.H. (WELDED)

SN: 45672-UP

1шт.

4

144-871-1770

BRACKET,L.H. (WELDED)

SN: 45672-UP

1шт.

5

144-871-1780

BRACKET,R.H. (WELDED)

SN: 45672-UP

1шт.

6

144-920-1680

BRACKET,L.H. (WELDED)

SN: 45672-UP

1шт.

7

144-920-1690

BRACKET,R.H. (WELDED)

SN: 45672-UP

1шт.

8

15B-871-1190

BRACKET,R.H. (WELDED)

SN: 45672-UP

1шт.

9

144-920-1751

BUSHING

SN: 45672-UP

1шт.

10

144-817-1160

SHAFT

SN: 45672-UP

2шт.

11

144-920-1780

LOCK

SN: 45672-UP

2шт.

12

01010-51635

BOLT

SN: 45672-UP

4шт.

13

01643-31645

WASHER

SN: 45672-UP

4шт.

14

07020-00000

FITTING,GREASE

SN: 45672-UP

2шт.

15

144-920-1120

EDGE,CUTTING

SN: 45672-UP

2шт.

16

140-70-11170

BIT,END, L.H.

SN: 45672-UP

1шт.

17

140-70-11180

BIT,END, R.H.

SN: 45672-UP

1шт.

18

02090-11270

BOLT

SN: 45672-UP

24шт.

19

02091-11210

BOLT

SN: 45672-UP

4шт.

20

02290-11219

NUT

SN: 45672-UP

28шт.

21

144-817-4110

SHAFT

SN: 45672-UP

2шт.

22

140-70-14230

PIN

SN: 45672-UP

2шт.

23

04050-13015

PIN,COTTER

SN: 45672-UP

2шт.

24

07020-00000

FITTING,GREASE

SN: 45672-UP

2шт.

25

140-920-1130

SPRING

SN: 45672-UP

1шт.

26

144-920-1730

COVER

SN: 45672-UP

1шт.

27

01010-51020

BOLT

SN: 45672-UP

4шт.

28

01602-21030

WASHER,SPRING

SN: 45672-UP

4шт.

29

01643-31032

WASHER

SN: 45672-UP

4шт.

30

144-920-2730

SHAFT

SN: 45672-UP

1шт.

31

07020-00000

FITTING,GREASE

SN: 45672-UP

1шт.

|$31

144-70-00110

STAY ASS'Y

SN: 45672-UP

1шт.

32

0

STAY

SN: 45672-UP

1шт.

33

144-70-15171

BUSHING

SN: 45672-UP

2шт.

34

144-70-15181

BUSHING

SN: 45672-UP

2шт.

35

07020-00675

FITTING,GREASE

SN: 45672-UP

2шт.

|$36

144-70-00100

YOKE ASS'Y

SN: 45672-UP

2шт.

36

144-70-15212

YOKE

SN: 45672-UP

1шт.

37

144-70-15260

CAP

SN: 45672-UP

2шт.

38

144-70-15251

PIN,ROLL

SN: 45672-UP

2шт.

39

07020-00000

FITTING,GREASE

SN: 45672-UP

2шт.

40

01010-51470

BOLT

SN: 45672-UP

4шт.

41

01602-21442

WASHER,SPRING

SN: 45672-UP

4шт.

42

130-09-12370

SEAL,OIL

SN: 45672-UP

2шт.

43

01051-81830

BOLT

SN: 45672-UP

8шт.

44

01582-11815

NUT

SN: 45672-UP

8шт.

45

01643-31845

WASHER

SN: 45672-UP

8шт.

Выбрано товаров: 47