Запчасти Komatsu D65E-8 ТОРКФЛОУ ТРАНСМИССИЯ РЫЧАГ ОСНОВН. МУФТА И ТРАНСМИССИЯ

Схема запчастей Komatsu D65E-8 - ТОРКФЛОУ ТРАНСМИССИЯ РЫЧАГ ОСНОВН. МУФТА И ТРАНСМИССИЯ
FIT
1:1
100%

Артикул

Название

Примечание

Количество

|$0

144-15-00120

TRANSMISSION ASS'Y

SN: 47153-UP

1шт.

|$1

0

TRANSMISSION ASS'Y

SN: 45306-47152

1шт.

|$2

0

TRANSMISSION ASS'Y

SN: 45001-45305

1шт.

|$$4

THESE ASSEMBLIES CONSIST OF ALL PARTS SHOWN IN FIGS.2501 TO 2519.

-1шт.

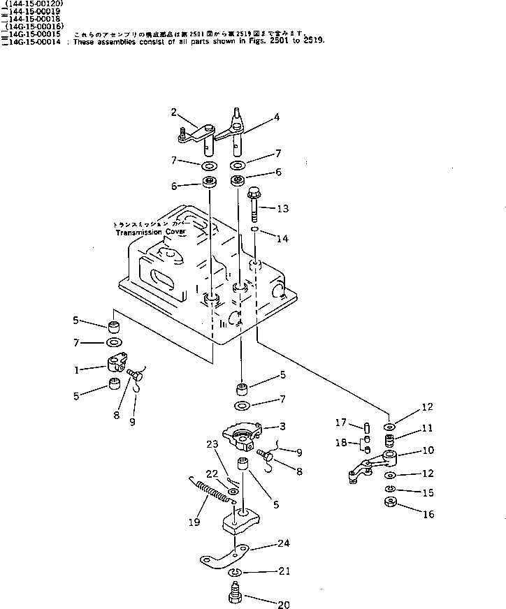
1

144-15-25560

LEVER,F AND R SHIFT

SN: 45001-UP

1шт.

2

144-15-25651

LEVER

SN: 45001-UP

1шт.

3

144-15-25632

LEVER

SN: 45001-UP

1шт.

4

144-15-25742

LEVER

SN: 45001-UP

1шт.

5

06120-02016

BEARING

SN: 45001-UP

4шт.

6

144-15-29110

SEAL,OIL (K2)

SN: 45001-UP

2шт.

7

144-15-25570

WASHER

SN: 45001-UP

4шт.

8

125-15-11530

BOLT

SN: 45001-UP

2шт.

9

04059-01010

WIRE (K2)

SN: 45001-UP

2шт.

10

144-15-25682

LEVER

SN: 45001-UP

1шт.

11

144-15-25670

BUSHING

SN: 45001-UP

1шт.

12

175-15-45660

WASHER

SN: 45001-UP

2шт.

13

175-15-45650

BOLT

SN: 45001-UP

1шт.

14

07000-72008

O-RING (K2)

SN: 45001-UP

1шт.

15

01602-01030

WASHER,SPRING

SN: 45001-UP

1шт.

16

01580-01008

NUT

SN: 45001-UP

1шт.

17

144-15-25691

PIN,ROLLER

SN: 45825-UP

1шт.

17

0

PIN,ROLLER

SN: 45001-45824

1шт.

18

144-15-29120

BEARING

SN: 45001-UP

2шт.

19

144-15-25710

SPRING

SN: 45001-UP

1шт.

20

144-15-25592

BOLT

SN: 45001-UP

1шт.

21

01602-01442

WASHER,SPRING

SN: 45001-UP

1шт.

22

01641-01016

WASHER

SN: 45001-UP

1шт.

23

04050-02018

PIN,COTTER (K2)

SN: 45001-UP

1шт.

24

144-15-25820

PLATE

SN: 45001-UP

1шт.

Выбрано товаров: 29