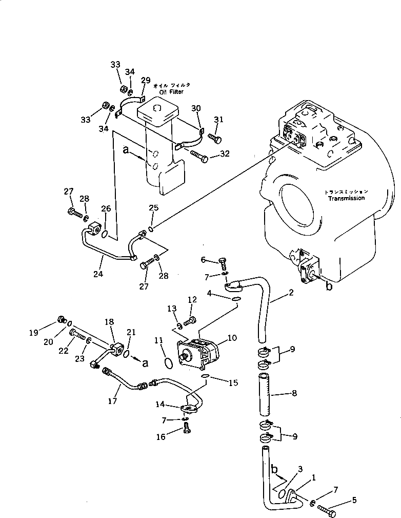
Запчасти Komatsu D65E-8 ТОРКФЛОУ ТРУБЫ (/) ОСНОВН. МУФТА И ТРАНСМИССИЯ

Схема запчастей Komatsu D65E-8 - ТОРКФЛОУ ТРУБЫ (/) ОСНОВН. МУФТА И ТРАНСМИССИЯ
FIT
1:1
100%

Артикул

Название

Примечание

Количество

1

144-49-12116

TUBE

SN: 45001-UP

1шт.

2

144-49-52110

TUBE

SN: 45001-UP

1шт.

3

07000-03040

O-RING

SN: 45001-UP

1шт.

4

07000-03032

O-RING

SN: 45001-UP

1шт.

5

01010-51030

BOLT

SN: 45001-UP

2шт.

6

01010-51050

BOLT

SN: 45001-UP

2шт.

7

01602-21030

WASHER,SPRING

SN: 45001-UP

4шт.

8

07260-23216

HOSE

SN: 45001-UP

1шт.

9

07280-04726

CLAMP

SN: 45001-UP

4шт.

10

07432-71203

PUMP ASS'Y

SN: 45001-UP

1шт.

11

07000-02075

O-RING

SN: 45001-UP

1шт.

12

01010-51030

BOLT

SN: 45001-UP

4шт.

13

01602-21030

WASHER,SPRING

SN: 45001-UP

4шт.

14

144-49-52120

TUBE

SN: 45001-UP

1шт.

15

07000-03020

O-RING

SN: 45001-UP

1шт.

16

01010-51035

BOLT

SN: 45001-UP

2шт.

17

07102-20503

HOSE

SN: 45001-UP

1шт.

18

144-49-12145

TUBE

SN: 45001-UP

1шт.

19

07040-11007

PLUG

SN: 45001-UP

1шт.

20

07000-02008

O-RING

SN: 45001-UP

1шт.

21

07000-03025

O-RING

SN: 45001-UP

1шт.

22

01010-51050

BOLT

SN: 45001-UP

2шт.

23

01602-21030

WASHER,SPRING

SN: 45001-UP

2шт.

24

144-49-12811

TUBE

SN: 45001-UP

1шт.

25

07000-03025

O-RING

SN: 45001-UP

1шт.

26

07000-03028

O-RING

SN: 45001-UP

1шт.

27

01010-51030

BOLT

SN: 45001-UP

4шт.

28

01602-21030

WASHER,SPRING

SN: 45001-UP

4шт.

29

144-49-12560

CLAMP

SN: 45001-UP

1шт.

30

144-49-12570

CLAMP

SN: 45001-UP

1шт.

31

01010-51025

BOLT

SN: 45001-UP

1шт.

32

01010-51045

BOLT

SN: 45001-UP

1шт.

33

01580-11008

NUT

SN: 45001-UP

2шт.

34

01602-21030

WASHER,SPRING

SN: 45001-UP

2шт.

Выбрано товаров: 34