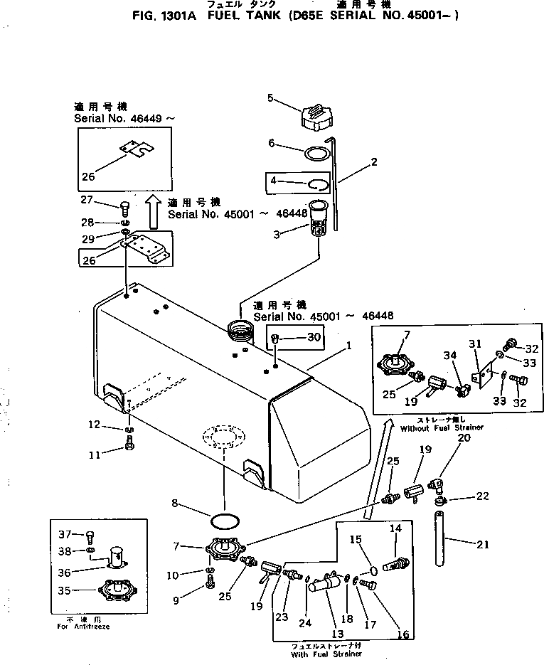
Запчасти Komatsu D65E-8 ТОПЛИВН. БАК. КОМПОНЕНТЫ ДВИГАТЕЛЯ И ЭЛЕКТРИКА

Схема запчастей Komatsu D65E-8 - ТОПЛИВН. БАК. КОМПОНЕНТЫ ДВИГАТЕЛЯ И ЭЛЕКТРИКА
FIT
1:1
100%

Артикул

Название

Примечание

Количество

1

144-04-51112

TANK

SN: 46449-UP

1шт.

1

144-04-51111

TANK

SN: 46366-46448

1шт.

1

144-04-51110

TANK

SN: 45001-46365

1шт.

1

144-04-51210

TANK,(FOR ADDITIONAL REAR LAMP)

SN: 46449-UP

1шт.

2

144-04-12310

GAUGE

SN: 45001-UP

1шт.

3

07056-18416

STRAINER

SN: 45001-UP

1шт.

4

07057-04087

RING

SN: 45001-46448

1шт.

5

07050-41200

CAP

SN: 45001-UP

1шт.

6

07050-21202

GASKET

SN: 45001-UP

1шт.

7

141-04-33110

FLANGE

SN: 45001-UP

1шт.

8

07000-02135

O-RING

SN: 45001-UP

1шт.

9

01010-51025

BOLT

SN: 45001-UP

6шт.

10

01602-21030

WASHER,SPRING

SN: 45001-UP

6шт.

11

01010-51440

BOLT

SN: 45001-UP

6шт.

12

01602-21442

WASHER,SPRING

SN: 45001-UP

6шт.

|$15

144-04-00321

STRAINER ASS'Y

SN: 45841-UP

1шт.

|$16

0

STRAINER ASS'Y

SN: 45001-45840

1шт.

13

0

CASE

SN: 45001-UP

1шт.

14

07058-00005

ELEMENT

SN: 45841-UP

1шт.

14

154-04-12531

STRAINER

SN: 45001-45840

1шт.

15

07002-04234

O-RING

SN: 45841-UP

1шт.

15

07000-03038

O-RING

SN: 45001-45840

1шт.

16

01010-51030

BOLT

SN: 45001-UP

2шт.

17

01602-21030

WASHER,SPRING

SN: 45001-UP

2шт.

18

01643-31032

WASHER

SN: 45001-UP

2шт.

19

07700-40460

VALVE

SN: 45001-UP

2шт.

20

131-04-54130

ELBOW

SN: 45001-UP

1шт.

21

07270-01260

TUBE

SN: 45001-UP

1шт.

21

07270-31260

TUBE,(FOR COLD WEATHER)

SN: 45001-UP

1шт.

22

07280-01620

CLAMP

SN: 45001-UP

1шт.

23

135-04-13151

NIPPLE

SN: 45001-UP

1шт.

24

07000-02015

O-RING

SN: 45001-UP

1шт.

25

131-04-54120

NIPPLE

SN: 45001-UP

2шт.

26

144-04-51160

BRACKET

SN: 46449-UP

1шт.

26

120-04-31141

BRACKET

SN: 45001-46448

1шт.

27

01010-51025

BOLT

SN: 46449-UP

2шт.

27

01010-51025

BOLT

SN: 45001-46448

4шт.

28

01602-31030

WASHER,SPRING

SN: 46449-UP

2шт.

28

01602-31030

WASHER,SPRING

SN: 45001-46448

4шт.

29

01643-31032

WASHER

SN: 46449-UP

2шт.

29

01643-31032

WASHER

SN: 45001-46448

4шт.

30

07049-01012

PLUG

SN: 45001-46448

4шт.

31

144-04-51170

BRACKET

SN: 45001-UP

1шт.

32

01010-51025

BOLT

SN: 45001-UP

3шт.

33

01643-31032

WASHER

SN: 45001-UP

3шт.

34

144-04-51140

ELBOW,(SEE FIG.1303)

SN: 45001-UP

1шт.

35

141-04-33310

FLANGE

SN: 45001-UP

1шт.

36

141-04-33320

STRAINER

SN: 45001-UP

1шт.

37

01010-50812

BOLT

SN: 45001-UP

2шт.

38

01602-20825

WASHER,SPRING

SN: 45001-UP

2шт.

Выбрано товаров: 50