Запчасти Komatsu D65E-8 КАПОТ И ЧАСТИ КОРПУСА (DE-8C) (EXCEPT TBG) ЧАСТИ КОРПУСА

Схема запчастей Komatsu D65E-8 - КАПОТ И ЧАСТИ КОРПУСА (DE-8C) (EXCEPT TBG) ЧАСТИ КОРПУСА
FIT
1:1
100%

Артикул

Название

Примечание

Количество

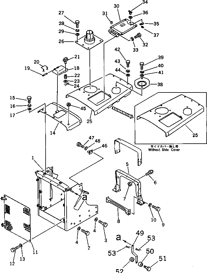
1

144-54-51380

GUARD

SN: 45001-UP

1шт.

2

01019-32020

BOLT

SN: 45001-UP

14шт.

3

01019-32015

BOLT

SN: 45001-UP

2шт.

4

01643-32060

WASHER

SN: 45001-UP

16шт.

5

144-54-24211

FRAME

SN: 45001-UP

1шт.

6

120-43-39361

DAMPER

SN: 45001-UP

2шт.

7

01580-11008

NUT

SN: 45001-UP

2шт.

8

144-54-51220

FRAME

SN: 45001-UP

1шт.

9

01010-51440

BOLT

SN: 45001-UP

4шт.

10

01602-21442

WASHER,SPRING

SN: 45001-UP

4шт.

11

144-54-71112

GRILLE

SN: 47004-UP

1шт.

11

144-54-71110

GRILLE

SN: 45001-47003

1шт.

12

01010-51635

BOLT

SN: 45001-UP

6шт.

13

01643-31645

WASHER

SN: 45001-UP

6шт.

14

144-54-51121

COVER

SN: 45001-UP

1шт.

15

01010-51235

BOLT

SN: 45001-UP

7шт.

16

01602-21236

WASHER,SPRING

SN: 45001-UP

7шт.

17

01643-31232

WASHER

SN: 45001-UP

7шт.

18

144-54-51140

COVER

SN: 45001-UP

1шт.

19

131-54-11270

PIN

SN: 45001-UP

1шт.

20

04050-11610

PIN,COTTER

SN: 45001-UP

2шт.

21

09459-11033

LOCK

SN: 45001-UP

1шт.

22

09459-01614

SPRING

SN: 45001-UP

1шт.

23

01642-21016

WASHER

SN: 45001-UP

1шт.

24

04050-13015

PIN,COTTER

SN: 45001-UP

1шт.

25

144-54-51110

HOOD,(WITH SIDE COVER)

SN: 45001-UP

1шт.

25

144-54-51250

HOOD,(WITHOUT SIDE COVER)

SN: 45001-UP

1шт.

26

144-54-71150

COVER

SN: 45001-UP

1шт.

26

144-54-55610

COVER,(FOR TURBOCHARGER)

SN: 45001-UP

1шт.

27

01010-51235

BOLT

SN: 45001-UP

5шт.

28

01602-21236

WASHER,SPRING

SN: 45001-UP

5шт.

29

01643-31232

WASHER

SN: 45001-UP

5шт.

30

144-851-1750

COVER

SN: 45001-UP

1шт.

31

07049-01215

PLUG

SN: 45001-UP

4шт.

32

01010-51020

BOLT

SN: 45001-UP

2шт.

33

01602-21030

WASHER,SPRING

SN: 45001-UP

2шт.

34

135-54-31290

HANDLE

SN: 45001-UP

1шт.

35

135-54-31310

STOPPER

SN: 45001-UP

1шт.

36

01643-31032

WASHER

SN: 45001-UP

1шт.

37

04025-00316

PIN,SPRING

SN: 45001-UP

1шт.

38

144-54-51150

COVER

SN: 45001-UP

1шт.

39

01010-51230

BOLT

SN: 45001-UP

2шт.

40

01602-21236

WASHER,SPRING

SN: 45001-UP

2шт.

41

01643-31232

WASHER

SN: 45001-UP

2шт.

42

01010-51235

BOLT

SN: 45001-UP

5шт.

43

01602-21236

WASHER

SN: 45001-UP

5шт.

44

01643-31232

WASHER

SN: 45001-UP

5шт.

45

08037-01610

GROMMET

SN: 45001-UP

2шт.

46

144-54-51210

BRACKET

SN: 45001-UP

1шт.

47

01010-50820

BOLT

SN: 45001-UP

2шт.

48

01602-20825

WASHER,SPRING

SN: 45001-UP

2шт.

49

144-811-6210

PLATE

SN: 45001-UP

2шт.

50

140-60-15460

TUBE

SN: 45001-UP

2шт.

51

01010-51245

BOLT

SN: 45001-UP

2шт.

52

01580-11210

NUT

SN: 45001-UP

2шт.

53

04050-08070

PIN,COTTER

SN: 45001-UP

4шт.

Выбрано товаров: 0