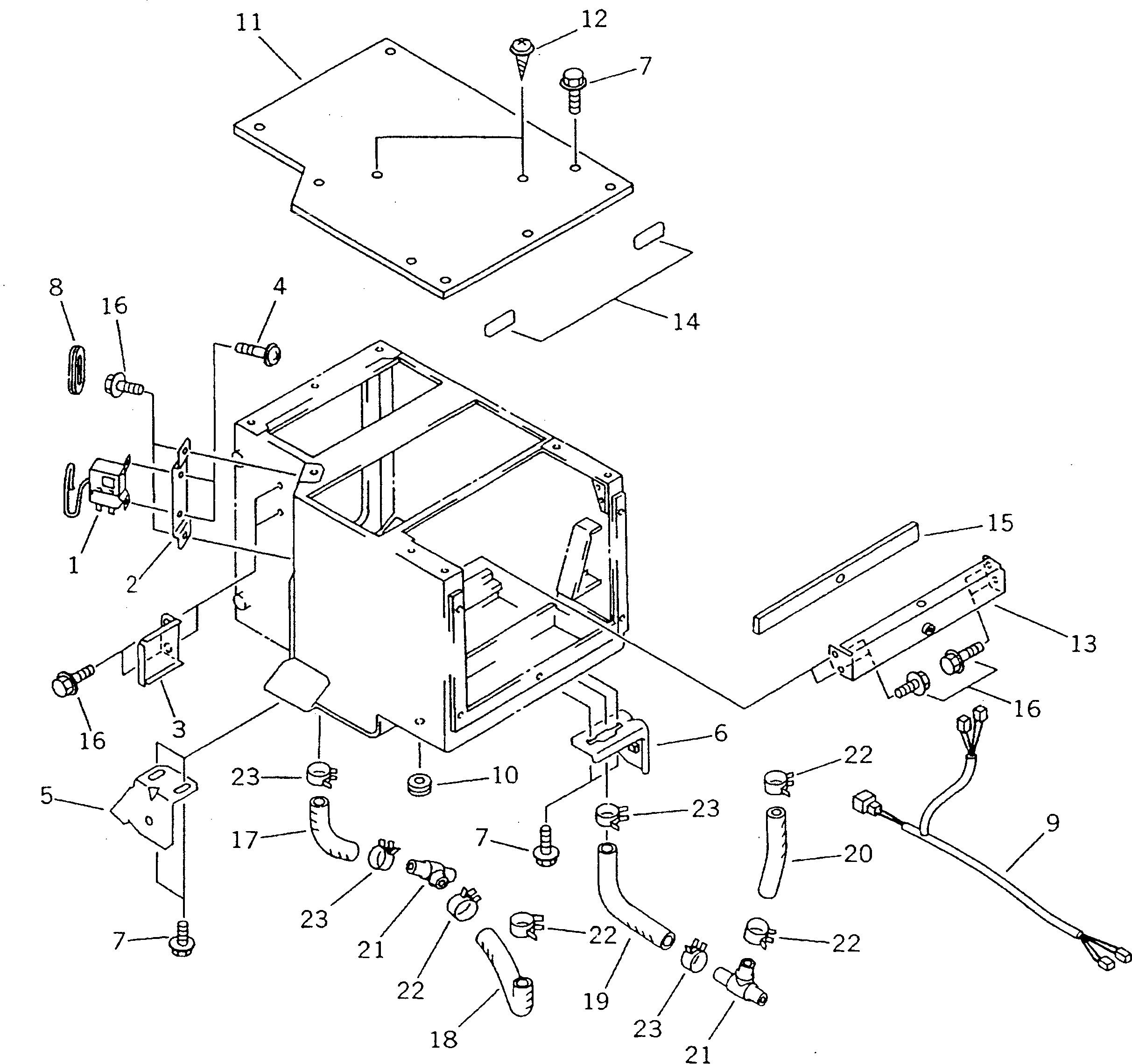
Запчасти Komatsu D65EX-12-E БЛОК КОНДИЦИОНЕРА (ТЕРМОСТАТ И ДРЕНАЖНЫЕ ПАТРУБКИ)(№9-) КАБИНА ОПЕРАТОРА И СИСТЕМА УПРАВЛЕНИЯ

Схема запчастей Komatsu D65EX-12-E - БЛОК КОНДИЦИОНЕРА (ТЕРМОСТАТ И ДРЕНАЖНЫЕ ПАТРУБКИ)(№9-) КАБИНА ОПЕРАТОРА И СИСТЕМА УПРАВЛЕНИЯ
FIT
1:1
100%

Артикул

Название

Примечание

Количество

|1

14X-911-7102

AIR CONDITIONER UNIT

SN: 60942-65000

1шт.

|$$2

THIS ASSEMBLY CONSISTS OF ALL PARTS SHOWN IN FIGS.K2210-0701 AND K2210-0801.

-1шт.

1

ND113550-0650

THERMOSTAT

SN: 60942-65000

1шт.

2

ND145461-7500

BRACKET

SN: 60942-65000

1шт.

3

ND145461-7511

BRACKET

SN: 60942-65000

1шт.

4

ND91370-04101

SCREW

SN: 60942-65000

2шт.

5

ND245440-2591

BRACKET

SN: 60942-65000

1шт.

6

ND245440-2601

BRACKET

SN: 60942-65000

1шт.

7

ND91478-08161

BOLT

SN: 60942-65000

8шт.

8

ND949321-9510

GROMMET

SN: 60942-65000

1шт.

9

ND146421-151

WIRE

SN: 60942-65000

1шт.

10

ND949321-6140

GROMMET

SN: 60942-65000

1шт.

11

ND146370-5001

COVER

SN: 60942-65000

1шт.

12

ND949001-1470

SCREW

SN: 60942-65000

2шт.

13

ND245440-2610

CASE

SN: 60942-65000

1шт.

14

ND146648-2470

PACKING

SN: 60942-65000

2шт.

15

ND146622-9700

PACKING

SN: 60942-65000

1шт.

16

ND91510-06081

BOLT

SN: 60942-65000

8шт.

17

ND146310-5710

HOSE

SN: 60942-65000

1шт.

18

ND146310-5720

HOSE

SN: 60942-65000

1шт.

19

ND146310-5730

HOSE

SN: 60942-65000

1шт.

20

ND146310-5740

HOSE

SN: 60942-65000

1шт.

21

ND146321-0220

CONNECTOR

SN: 60942-65000

2шт.

22

ND246690-4810

CLAMP

SN: 60942-65000

4шт.

23

ND246690-2740

CLAMP

SN: 60942-65000

4шт.

Выбрано товаров: 25