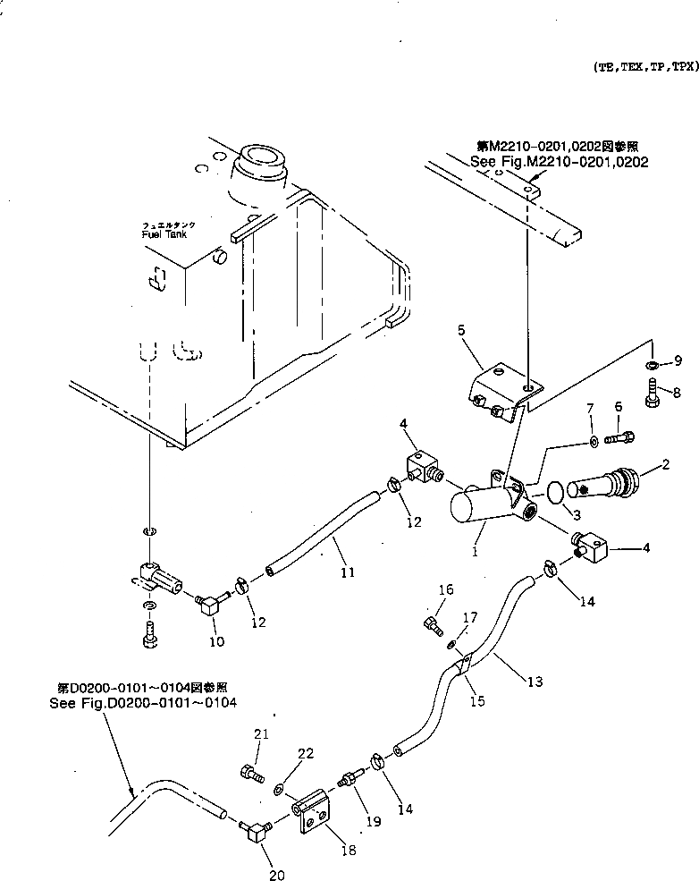
Запчасти Komatsu D65EX-12-E ДОПОЛН. ТОПЛИВН. ФИЛЬТР (ДЛЯ ТЯГОВ. ЛЕБЕДКИ)(№79-) ТОПЛИВН. БАК. AND КОМПОНЕНТЫ

Схема запчастей Komatsu D65EX-12-E - ДОПОЛН. ТОПЛИВН. ФИЛЬТР (ДЛЯ ТЯГОВ. ЛЕБЕДКИ)(№79-) ТОПЛИВН. БАК. AND КОМПОНЕНТЫ
FIT
1:1
100%

Артикул

Название

Примечание

Количество

1

07058-00001

CASE

SN: 61579-UP

1шт.

2

154-04-12531

STRAINER

SN: 61579-UP

1шт.

3

07002-04234

O-RING

SN: 61579-UP

1шт.

4

195-04-11431

ELBOW

SN: 61579-UP

2шт.

5

14X-04-11350

BRACKET

SN: 61579-UP

1шт.

6

01010-80825

BOLT

SN: 61579-UP

2шт.

7

01643-30823

WASHER

SN: 61579-UP

2шт.

8

01010-81225

BOLT

SN: 61579-UP

2шт.

9

01643-31232

WASHER

SN: 61579-UP

2шт.

10

14X-04-11260

ELBOW

SN: 61579-UP

1шт.

11

142-04-13260

HOSE

SN: 61579-UP

1шт.

12

11Y-09-11140

CLIP

SN: 63451-UP

2шт.

|12

0

CLAMP

SN: 61579-63450

2шт.

13

14X-04-11240

HOSE

SN: 61579-UP

1шт.

14

11Y-09-11140

CLIP

SN: 63451-UP

2шт.

|14

0

CLAMP

SN: 61579-63450

2шт.

15

08036-01814

CLIP

SN: 61579-UP

1шт.

16

01010-81016

BOLT

SN: 61579-UP

1шт.

17

01643-31032

WASHER

SN: 61579-UP

1шт.

18

14X-04-11250

BLOCK

SN: 61579-UP

1шт.

19

120-04-41130

NIPPLE

SN: 61579-UP

1шт.

20

14X-04-11260

ELBOW

SN: 61579-UP

1шт.

21

01010-81225

BOLT

SN: 61579-UP

2шт.

22

01643-31232

WASHER

SN: 61579-UP

2шт.

Выбрано товаров: 24