Запчасти Komatsu D65EX-12-E УВЕЛИЧ. ТОПЛИВН. БАК. (БАК) (ДЛЯ TОБОД КОЛЕСАMING DOZER) ТОПЛИВН. БАК. AND КОМПОНЕНТЫ

Схема запчастей Komatsu D65EX-12-E - УВЕЛИЧ. ТОПЛИВН. БАК. (БАК) (ДЛЯ TОБОД КОЛЕСАMING DOZER) ТОПЛИВН. БАК. AND КОМПОНЕНТЫ
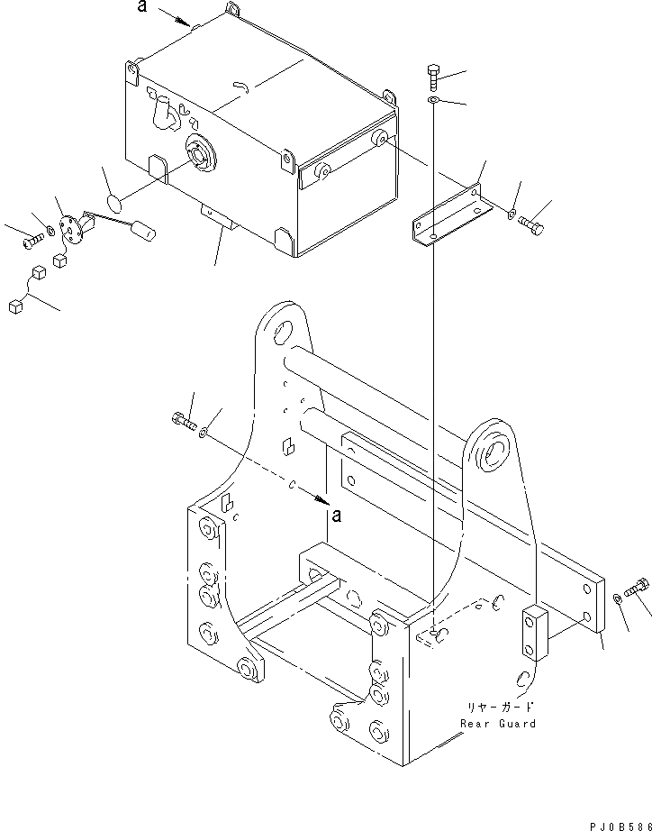
1
2
3
4
5
6
7
7
8
9
10
11
12
13
14
15
FIT
1:1
100%

Артикул

Название

Примечание

Количество

1

14X-916-1411

TANK

SN: 60942-UP

1шт.

2

14X-916-1420

BRACKET

SN: 60942-UP

1шт.

3

01010-81650

BOLT

SN: 60942-UP

2шт.

4

01643-31645

WASHER

SN: 60942-UP

2шт.

5

01010-81635

BOLT

SN: 60942-UP

2шт.

6

01010-81630

BOLT

SN: 60942-UP

2шт.

7

01643-31645

WASHER

SN: 60942-UP

4шт.

8

14X-916-1520

PLATE

SN: 60942-UP

1шт.

9

01010-82450

BOLT

SN: 60942-UP

4шт.

10

01643-32460

WASHER

SN: 60942-UP

4шт.

11

7861-92-5820

SENSOR,FUEL

SN: 60942-UP

1шт.

12

07000-03050

O-RING

SN: 60942-UP

1шт.

13

01220-40612

SCREW

SN: 60942-UP

4шт.

14

01602-20619

WASHER

SN: 60942-UP

4шт.

15

14X-916-2510

WIRING HARNESS

SN: 65001-UP

1шт.

|15

14X-916-1510

WIRE

SN: 60942-65000

1шт.

Выбрано товаров: 16