Запчасти Komatsu D65EX-12 ОСНОВН. КОНСТРУКЦИЯ (P.P.C. КЛАПАН) (ДЛЯ РУЛЕВ. УПРАВЛЕНИЕ УПРАВЛ-Е) КАБИНА ОПЕРАТОРА И СИСТЕМА УПРАВЛЕНИЯ

Схема запчастей Komatsu D65EX-12 - ОСНОВН. КОНСТРУКЦИЯ (P.P.C. КЛАПАН) (ДЛЯ РУЛЕВ. УПРАВЛЕНИЕ УПРАВЛ-Е) КАБИНА ОПЕРАТОРА И СИСТЕМА УПРАВЛЕНИЯ
FIT
1:1
100%

Артикул

Название

Примечание

Количество

|$10

702-16-01131

PILOT VALVE,(D65EX)

SN: 60131-UP

2шт.

|$11

702-16-01130

PILOT VALVE,(D65EX)

SN: 60001-60130

2шт.

|$12

702-16-01131

PILOT VALVE,(D65PX)

SN: 60291-UP

2шт.

|$13

702-16-01130

PILOT VALVE,(D65PX)

SN: 60001-60290

2шт.

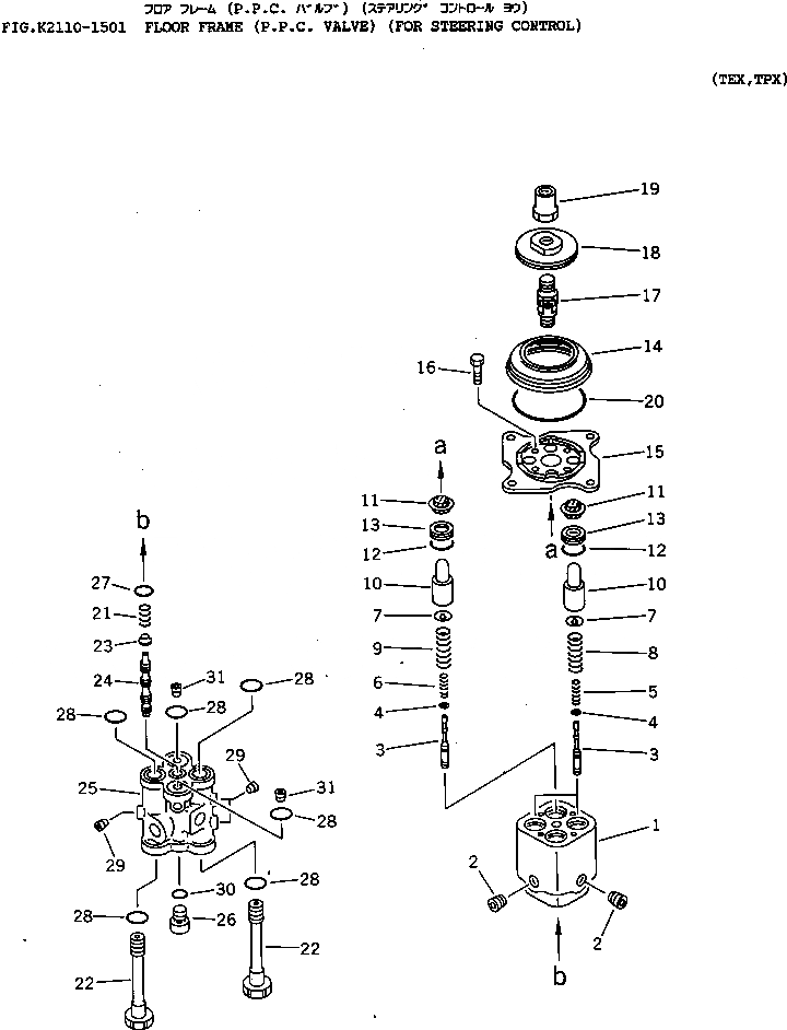
1

0

BODY

SN: 60001-UP

1шт.

2

07043-50312

PLUG

SN: 60001-UP

2шт.

3

0

VALVE

SN: 60001-UP

4шт.

4

702-16-51140

SHIM, 0.30MM

SN: 60001-UP

4шт.

5

702-16-53420

SPRING

SN: 60001-UP

2шт.

6

702-16-53640

SPRING

SN: 60001-UP

2шт.

7

702-16-53140

RETAINER

SN: 60001-UP

4шт.

8

702-16-53160

SPRING

SN: 60001-UP

2шт.

9

702-16-53650

SPRING

SN: 60001-UP

2шт.

10

702-16-53170

PISTON

SN: 60001-UP

4шт.

11

702-16-51270

SEAL

SN: 60001-UP

4шт.

12

07000-02020

O-RING

SN: 60001-UP

4шт.

13

702-16-53290

COLLAR

SN: 60001-UP

4шт.

14

702-16-53190

BOOT

SN: 60001-UP

1шт.

15

702-16-53210

PLATE

SN: 60001-UP

1шт.

16

01010-50620

BOLT

SN: 60001-UP

4шт.

17

702-16-51240

JOINT

SN: 60001-UP

1шт.

18

702-16-53220

DISC

SN: 60001-UP

1шт.

19

702-16-53230

NUT

SN: 60001-UP

1шт.

20

07000-02070

O-RING

SN: 60001-UP

1шт.

21

702-16-53660

SPRING

SN: 60001-UP

1шт.

22

702-16-53670

BOLT

SN: 60001-UP

2шт.

23

702-16-53680

SPACER

SN: 60001-UP

1шт.

24

0

SPOOL

SN: 60001-UP

1шт.

25

0

BLOCK,(D65EX)

SN: 60131-UP

1шт.

25

0

BLOCK,(D65EX)

SN: 60001-60130

1шт.

25

0

BLOCK,(D65PX)

SN: 60291-UP

1шт.

25

0

BLOCK,(D65PX)

SN: 60001-60290

1шт.

26

702-16-53720

PLUG

SN: 60001-UP

1шт.

27

07000-02015

O-RING

SN: 60001-UP

1шт.

28

702-16-53870

O-RING,(D65EX)

SN: 60131-UP

6шт.

28

07000-02018

O-RING,(D65EX)

SN: 60001-60130

6шт.

28

702-16-53870

O-RING,(D65PX)

SN: 60291-UP

6шт.

28

07000-02018

O-RING,(D65PX)

SN: 60001-60290

6шт.

29

0

PLUG

SN: 60001-UP

5шт.

30

07002-01223

O-RING

SN: 60001-UP

1шт.

31

702-16-53730

PLUG

SN: 60001-UP

2шт.

Выбрано товаров: 41