Запчасти Komatsu D65EX-12 ЗАДН. РАБОЧЕЕ ОБОРУДОВАНИЕ УПРАВЛ-Е (ТЯГОВ. ЛЕБЕДКА) КАБИНА ОПЕРАТОРА И СИСТЕМА УПРАВЛЕНИЯ

Схема запчастей Komatsu D65EX-12 - ЗАДН. РАБОЧЕЕ ОБОРУДОВАНИЕ УПРАВЛ-Е (ТЯГОВ. ЛЕБЕДКА) КАБИНА ОПЕРАТОРА И СИСТЕМА УПРАВЛЕНИЯ
FIT
1:1
100%

Артикул

Название

Примечание

Количество

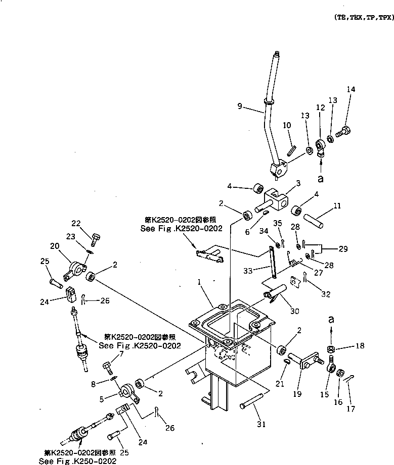
1

14W-960-7111

BRACKET

SN: 60001-UP

1шт.

2

06123-01414

BEARING

SN: 60001-UP

4шт.

3

14Y-43-11121

YOKE

SN: 60001-UP

1шт.

4

06124-01416

BEARING

SN: 60001-UP

2шт.

5

14W-960-7141

LEVER

SN: 60001-UP

1шт.

6

04010-00516

KEY

SN: 60001-UP

1шт.

7

01010-50830

BOLT

SN: 60001-UP

1шт.

8

01643-30823

WASHER

SN: 60001-UP

1шт.

9

14W-960-7131

LEVER

SN: 60001-UP

1шт.

10

04025-00332

PIN,SPRING

SN: 60001-UP

1шт.

11

363-43-27161

PIN

SN: 60001-UP

1шт.

12

04250-81056

END

SN: 60001-UP

1шт.

13

04254-11032

SPACER

SN: 60001-UP

2шт.

14

01010-51035

BOLT

SN: 60001-UP

1шт.

15

04252-21061

END

SN: 60001-UP

1шт.

16

01593-31008

NUT

SN: 60001-UP

1шт.

17

04050-12018

PIN,COTTER

SN: 60001-UP

1шт.

18

01582-11008

NUT

SN: 60001-UP

1шт.

19

14W-960-7151

LEVER

SN: 60001-UP

1шт.

20

14W-960-7161

LEVER

SN: 60001-UP

1шт.

21

04010-00516

KEY

SN: 60001-UP

1шт.

22

01010-50830

BOLT

SN: 60001-UP

1шт.

23

01643-30823

WASHER

SN: 60001-UP

1шт.

24

04210-20832

YOKE

SN: 60001-UP

2шт.

25

04205-10825

PIN

SN: 60001-UP

2шт.

26

04050-12015

PIN,COTTER

SN: 60001-UP

2шт.

27

09463-00002

SPRING

SN: 60001-UP

1шт.

28

01641-20608

WASHER

SN: 60001-UP

2шт.

29

04052-10633

PIN

SN: 60001-UP

2шт.

30

14W-960-7171

LEVER

SN: 60001-UP

1шт.

31

195-61-45280

PIN

SN: 60001-UP

1шт.

32

04050-12015

PIN,COTTER

SN: 60001-UP

1шт.

33

14W-960-7181

PLATE

SN: 60001-UP

1шт.

34

01641-20608

WASHER

SN: 60001-UP

1шт.

35

04050-11612

PIN,COTTER

SN: 60001-UP

1шт.

Выбрано товаров: 35