Запчасти Komatsu D65EX-12 ОСНОВН. КОНСТРУКЦИЯ (РАМА И КРЕПЛЕНИЕ) (БЕЗ КАБИНЫ) (VISCOUS КРЕПЛЕНИЕ)(№9-) КАБИНА ОПЕРАТОРА И СИСТЕМА УПРАВЛЕНИЯ

Схема запчастей Komatsu D65EX-12 - ОСНОВН. КОНСТРУКЦИЯ (РАМА И КРЕПЛЕНИЕ) (БЕЗ КАБИНЫ) (VISCOUS КРЕПЛЕНИЕ)(№9-) КАБИНА ОПЕРАТОРА И СИСТЕМА УПРАВЛЕНИЯ
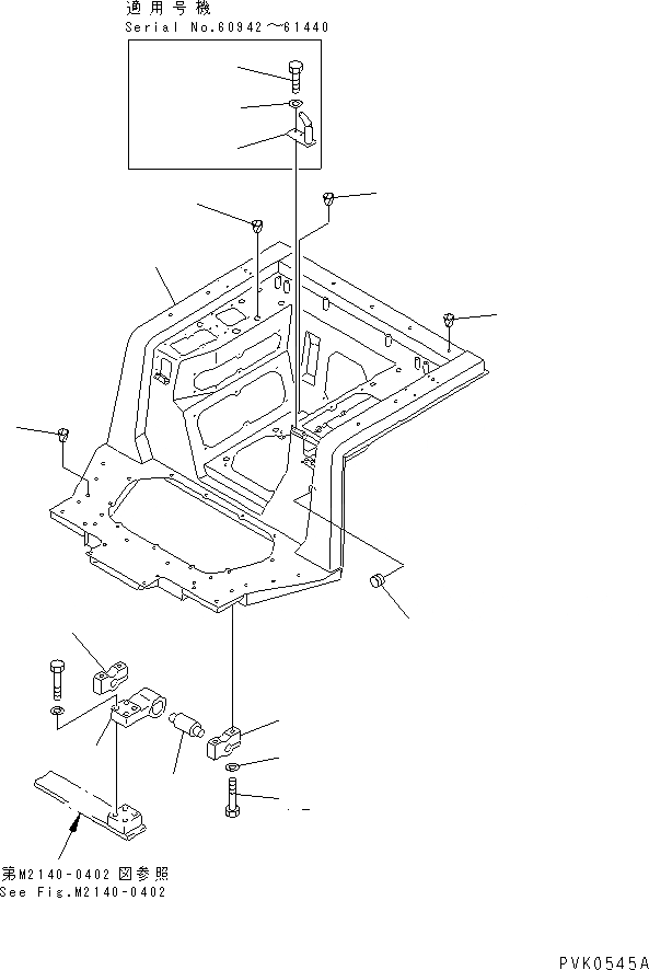
1
2
3
4
5
6
7
8
8
9
10
11
11
12
13
FIT
1:1
100%

Артикул

Название

Примечание

Количество

1

14X-54-15510

FRAME

SN: 60942-65000

1шт.

2

07049-01215

PLUG

SN: 60942-65000

2шт.

3

07049-02430

PLUG

SN: 60942-65000

2шт.

4

14X-54-16641

BRACKET

SN: 60942-61440

1шт.

5

01010-81025

BOLT

SN: 60942-61440

2шт.

6

01643-31032

WASHER

SN: 60942-61440

2шт.

7

09415-03614

CAP

SN: 60942-61440

2шт.

8

07049-01215

PLUG

SN: 60942-65000

15шт.

9

14X-54-17122

BRACKET

SN: 60942-65000

2шт.

10

14X-54-17110

RUBBER

SN: 60942-65000

2шт.

11

14X-54-17130

PLATE

SN: 60942-65000

4шт.

12

01011-81600

BOLT

SN: 60942-65000

8шт.

13

01643-31645

WASHER

SN: 60942-65000

8шт.

Выбрано товаров: 13