Запчасти Komatsu D65EX-12 СЦЕПНОЕ УСТРОЙСТВО (С ПРОТИВОВЕС)(№8-) РАБОЧЕЕ ОБОРУДОВАНИЕ

Схема запчастей Komatsu D65EX-12 - СЦЕПНОЕ УСТРОЙСТВО (С ПРОТИВОВЕС)(№8-) РАБОЧЕЕ ОБОРУДОВАНИЕ
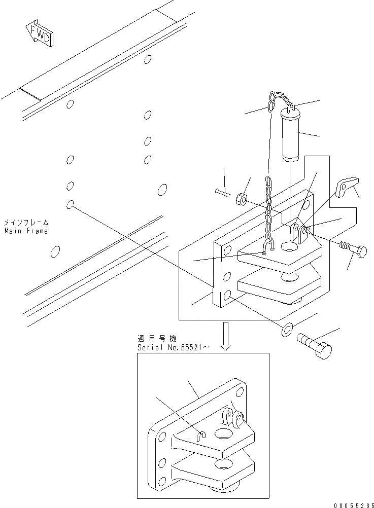
1
1
2
3
4
4
4
5
6
7
8
9
10
11
12
FIT
1:1
100%

Артикул

Название

Примечание

Количество

1

14X-69-31101

BRACKET

SN: 65521-UP

1шт.

1

145-69-31110

BRACKET

SN: 63428-65520

1шт.

2

131-69-11120

PLATE (WELDED)

SN: 63428-65520

1шт.

3

131-69-11130

PLATE (WELDED)

SN: 63428-65520

1шт.

4

130-70-12210

HOOK (WELDED)

SN: 63428-UP

2шт.

5

130-69-11190

PIN,COTTER

SN: 63428-UP

1шт.

6

150-70-13420

CHAIN

SN: 63428-UP

1шт.

7

09249-00016

LATCH

SN: 63428-UP

1шт.

8

01052-51265

BOLT

SN: 63428-UP

1шт.

9

01592-11215

NUT

SN: 63428-UP

1шт.

10

04050-13025

PIN

SN: 63428-UP

1шт.

11

145-Z23-4130

BOLT

SN: 63428-UP

6шт.

12

01643-32460

WASHER

SN: 63428-UP

6шт.

Выбрано товаров: 13