Запчасти Komatsu D65EX-12 МАРКИРОВКА (DANISH) (REGULATION OF EC INCLUSION) (DEX)(№8-9) МАРКИРОВКА

Схема запчастей Komatsu D65EX-12 - МАРКИРОВКА (DANISH) (REGULATION OF EC INCLUSION) (DEX)(№8-9) МАРКИРОВКА
FIT
1:1
100%

Артикул

Название

Примечание

Количество

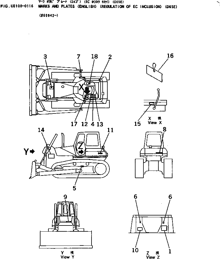
1

14X-98-12710

OIL CHART

SN: 61283-@

1шт.

2

09653-A0540

PLATE, SAFETY,OPERATING OIL TANK

SN: 61283-62966

1шт.

2

09653-30540

PLATE, SAFETY,OPERATING OIL TANK

SN: 61283-62966

1шт.

3

09653-A0540

PLATE, SAFETY,RADIATOR

SN: 61283-62966

1шт.

3

09653-30540

PLATE, SAFETY,RADIATOR

SN: 61283-62966

1шт.

4

09654-B1450

PLATE, SAFETY,BEFORE AND AFTER OPERATION

SN: 61283-62966

1шт.

5

09657-A0750

PLATE, SAFETY,ADJUSTING TRACK SHOE

SN: 61283-62966

2шт.

6

14X-98-11170

PLATE, OPERATING,LOCK

SN: 61283-@

2шт.

7

14X-98-12860

PLATE,PRESSURE TEST (HSS)

SN: 61283-@

1шт.

8

09690-C0630

PLATE, MARK,KOMATSU, REAR

SN: 61446-@

1шт.

8

09690-C0400

PLATE, MARK,KOMATSU, REAR

SN: 61283-61445

1шт.

9

09690-B0280

PLATE, MARK,KOMATSU, FRONT

SN: 61283-@

1шт.

10

09602-00000

PLATE, NAME,(LIMITED SUPPLY)

SN: 61283-@

1шт.

10

04418-13060

SCREW

SN: 61283-@

4шт.

11

14X-98-11320

PLATE, MARK,D65EX

SN: 61283-@

2шт.

12

09802-B0750

PLATE, SAFETY,SAFETY COMFIRM OF REAR

SN: 61283-@

1шт.

13

09806-B1750

PLATE, SAFETY,KEEP A SAFE DISTANCE

SN: 61283-62966

2шт.

14

362-54-17320

PLATE, OPERATING,FUEL CONTROL LEVER

SN: 61283-@

1шт.

15

09963-A1640

TAG,DO NOT OPERATE

SN: 61283-@

1шт.

16

09667-A0900

PLATE, SAFETY

SN: 61283-62966

2шт.

17

14X-98-11230

PLATE, OPERATING,STEERING LEVER (HSS)

SN: 61283-@

1шт.

18

14X-98-11250

PLATE, OPERATING,WORK EQUIP.LEVER (TILT DOZER)

SN: 61283-@

1шт.

18

14X-98-11260

PLATE, OPERATING,WORK EQUIP.LEVER (ANGLE DOZER)

SN: 61283-@

1шт.

18

14X-916-1220

PLATE, OPERATING,WORK EQUIP.LEVER (TRIMMING D.)

SN: 61283-@

1шт.

Выбрано товаров: 0