Запчасти Komatsu D65EX-12H ОСНОВН. РАМА (ДЛЯ TОБОД КОЛЕСАMING DOZER) ОСНОВН. РАМА И КОМПОНЕНТЫ

Схема запчастей Komatsu D65EX-12H - ОСНОВН. РАМА (ДЛЯ TОБОД КОЛЕСАMING DOZER) ОСНОВН. РАМА И КОМПОНЕНТЫ
FIT
1:1
100%

Артикул

Название

Примечание

Количество

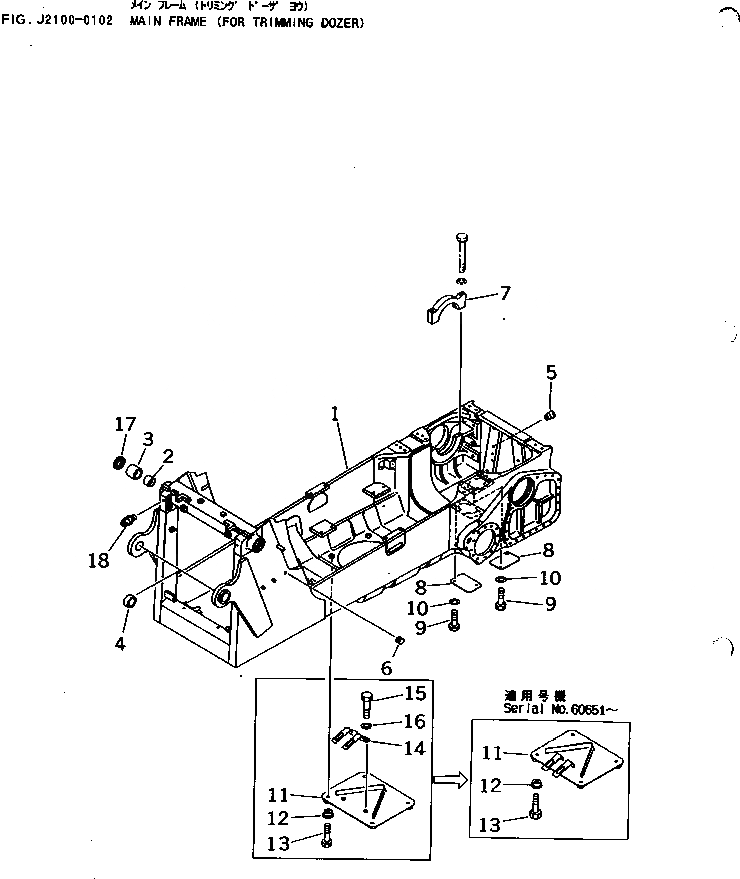
1

14X-916-1011

FRAME ASS'Y

SN: 60651-UP

1шт.

1

14X-916-1010

FRAME ASS'Y

SN: 60001-60650

1шт.

2

144-70-15171

BUSHING

SN: 60001-UP

2шт.

3

144-70-15181

BUSHING

SN: 60001-UP

2шт.

4

154-55-16860

BUSHING

SN: 60001-UP

2шт.

5

07049-02430

PLUG

SN: 60001-UP

9шт.

6

09415-02520

CAP

SN: 60001-UP

2шт.

7

14Y-21-13110

CAP

SN: 60001-UP

2шт.

8

14Y-21-14120

PLATE

SN: 60001-UP

2шт.

9

01010-51225

BOLT

SN: 60001-UP

4шт.

10

01643-31232

WASHER

SN: 60001-UP

4шт.

11

14Y-21-14114

COVER

SN: 60651-UP

1шт.

11

14Y-21-14113

COVER

SN: 60001-60650

1шт.

12

14Y-21-14141

BOSS

SN: 60001-UP

4шт.

13

01010-51645

BOLT

SN: 60001-UP

4шт.

14

14Y-21-14131

BRACKET

SN: 60001-60650

1шт.

15

01010-51025

BOLT

SN: 60001-60650

2шт.

16

01643-31032

WASHER

SN: 60001-60650

2шт.

17

130-09-12370

SEAL

SN: 60001-UP

2шт.

18

07020-00000

FITTING,GREASE

SN: 60001-UP

2шт.

Выбрано товаров: 20