Запчасти Komatsu D65EX-12U FВОЗД. LEAD РАБОЧЕЕ ОБОРУДОВАНИЕ

Схема запчастей Komatsu D65EX-12U - FВОЗД. LEAD РАБОЧЕЕ ОБОРУДОВАНИЕ
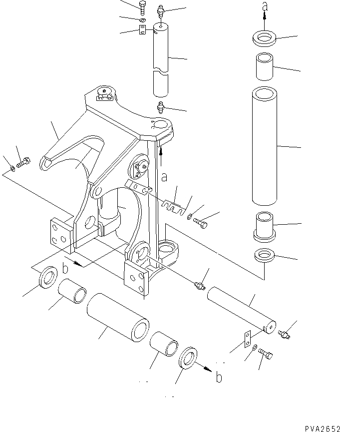
1
2
2
3
4
4
5
6
7
8
9
10
11
12
12
13
13
14
15
15
16
17
18
19
19
20
21
22
23
24
25
FIT
1:1
100%

Артикул

Название

Примечание

Количество

1

14X-960-8111

FRAME

SN: 61527-UP

1шт.

1

14X-960-8110

FRAME

SN: 60942-61526

1шт.

2

14X-960-8130

ROLLER

SN: 60942-UP

2шт.

3

14X-960-8120

SHAFT

SN: 60942-UP

2шт.

4

07020-00000

FITTING,GREASE

SN: 60942-UP

4шт.

5

04082-00514

LOCK

SN: 60942-UP

2шт.

6

01010-81435

BOLT

SN: 60942-UP

4шт.

7

01643-31445

WASHER

SN: 60942-UP

4шт.

8

144-947-5140

BUSHING

SN: 60942-UP

2шт.

9

144-947-5130

BUSHING

SN: 60942-UP

2шт.

10

150-95-18060

BUSHING

SN: 60942-UP

2шт.

11

150-95-18120

SPACER

SN: 60942-UP

2шт.

12

14X-960-8150

ROLLER

SN: 60942-UP

2шт.

13

144-947-5130

BUSHING

SN: 60942-UP

4шт.

14

14X-960-8140

SHAFT

SN: 60942-UP

2шт.

15

07020-00000

FITTING,GREASE

SN: 60942-UP

4шт.

16

04082-00514

LOCK

SN: 60942-UP

2шт.

17

01010-81435

BOLT

SN: 60942-UP

4шт.

18

01643-31445

WASHER

SN: 60942-UP

4шт.

19

150-95-18120

SPACER

SN: 60942-UP

4шт.

20

01010-82470

BOLT

SN: 60942-UP

6шт.

21

01643-32460

WASHER

SN: 60942-UP

6шт.

22

01010-82460

BOLT

SN: 60942-UP

4шт.

23

01643-32460

WASHER

SN: 60942-UP

4шт.

24

14X-960-8250

SHIM, 1.0MM

SN: 60942-UP

2шт.

25

14X-960-8260

SHIM, 0.5MM

SN: 60942-UP

4шт.

Выбрано товаров: 26