Запчасти Komatsu D65EX-15 ОХЛАЖД-Е (РАДИАТОР И МАСЛООХЛАДИТЕЛЬ) СИСТЕМА ОХЛАЖДЕНИЯ

Схема запчастей Komatsu D65EX-15 - ОХЛАЖД-Е (РАДИАТОР И МАСЛООХЛАДИТЕЛЬ) СИСТЕМА ОХЛАЖДЕНИЯ
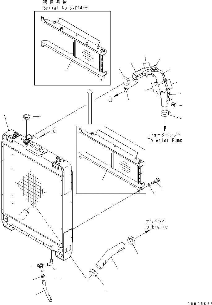
1
2
3
3
4
5
6
7
7
8
9
9
10
11
12
12
13
14
15
16
17
17
17
17
FIT
1:1
100%

Артикул

Название

Примечание

Количество

1

14X-03-31211

RADIATOR CORE ASS'Y

SN: 67001-UP

1шт.

2

14X-03-11140

CAP

SN: 67001-UP

1шт.

3

14X-03-31233

OIL COOLER ASS'Y

SN: 67014-UP

1шт.

3

0

OIL COOLER ASS'Y

SN: (67014-68101)

1шт.

3

14X-03-31231

OIL COOLER ASS'Y

SN: 67001-67013

1шт.

4

01010-81020

BOLT

SN: 67001-UP

4шт.

5

01643-31032

WASHER

SN: 67001-UP

4шт.

6

14X-03-35212

HOSE

SN: 67001-UP

1шт.

7

07289-00070

CLAMP

SN: 67001-UP

2шт.

8

14X-03-35222

HOSE,WHITE

SN: 67001-UP

1шт.

9

07289-00070

CLAMP

SN: 67001-UP

2шт.

10

14X-03-32140

HOSE ASS'Y

SN: 67001-UP

1шт.

11

08017-31908

CONDUIT

SN: 67001-UP

1шт.

12

07285-00150

CLIP

SN: 67001-UP

2шт.

13

14X-03-35810

ELBOW

SN: 67001-UP

1шт.

14

07730-50004

VALVE

SN: 67001-UP

1шт.

15

07270-01520

TUBE

SN: 67001-UP

1шт.

16

07280-01920

CLAMP

SN: 67001-UP

1шт.

17

134-03-61410

BAND

SN: 67001-UP

8шт.

Выбрано товаров: 19