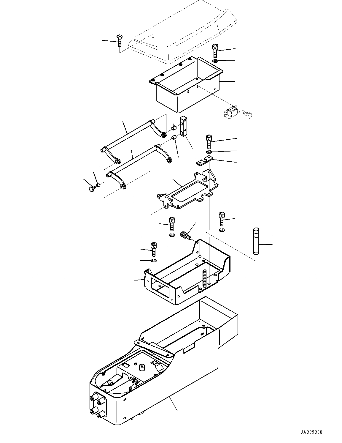
Запчасти Komatsu D65EX-16 СИСТЕМА ROPS, КОНСОЛЬН. БЛОК (№88-) СИСТЕМА ROPS

Схема запчастей Komatsu D65EX-16 - СИСТЕМА ROPS, КОНСОЛЬН. БЛОК (№88-) СИСТЕМА ROPS
15
14
13
12
11
10
9
8
7
6
5
4
3
2
4
10
1
21
18
20
19
16
17
16
17
FIT
1:1
100%

Артикул

Название

Примечание

Количество

1

14X-43-51211

Box, Console

SN: 80054-UP

1шт.

|$1

14X-43-51501

Bracket Assembly

SN: 80054-UP

1шт.

2

Bracket

SN: 80054-UP

1шт.

3

19M-43-33720

Bracket

SN: 80054-UP

1шт.

4

19M-43-33730

Arm

SN: 80054-UP

2шт.

5

19M-43-33740

Block

SN: 80054-UP

2шт.

6

19M-43-33750

Pin

SN: 80054-UP

4шт.

7

19M-43-33760

Bushing

SN: 80054-UP

4шт.

8

19M-43-33770

Knob

SN: 80054-UP

1шт.

9

19M-43-33780

Plate

SN: 80054-UP

1шт.

10

19M-43-34330

Bushing

SN: 80054-UP

4шт.

11

01023-60516

Screw

SN: 80054-UP

4шт.

12

01252-80410

Bolt, Hexagon Socket Head

SN: 80054-UP

2шт.

13

01252-80510

Bolt

SN: 80054-UP

4шт.

14

01601-20410

Washer

SN: 80054-UP

2шт.

15

01601-20512

Washer

SN: 80054-UP

4шт.

16

01252-80510

Bolt

SN: 80850-UP

4шт.

17

01601-20512

Washer

SN: 80850-UP

4шт.

18

14X-43-51691

Bracket

SN: 80054-UP

1шт.

19

01252-B0510

Bolt, Hexagon Socket Head

SN: 80850-UP

4шт.

20

01601-50513

Washer, Spring

SN: 80054-UP

4шт.

21

01224-70408

Screw, Philips Head

SN: 80054-UP

4шт.

Выбрано товаров: 22