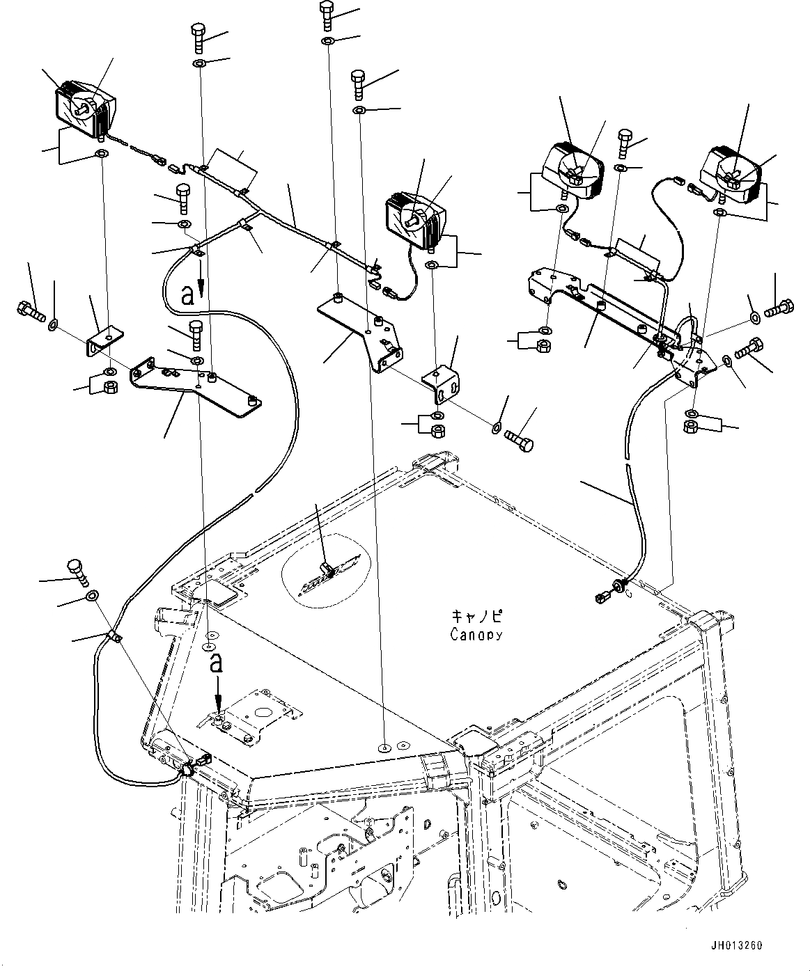
Запчасти Komatsu D65EX-16 ПЕРЕДН. ЛАМПА РАБОЧ. ОСВЕЩЕНИЯ И ЗАДН.ЛАМПА РАБОЧ. ОСВЕЩЕНИЯ (№8-) ПЕРЕДН. ЛАМПА РАБОЧ. ОСВЕЩЕНИЯ И ЗАДН.ЛАМПА РАБОЧ. ОСВЕЩЕНИЯ, ДЛЯ СИСТЕМА ROPS

Схема запчастей Komatsu D65EX-16 - ПЕРЕДН. ЛАМПА РАБОЧ. ОСВЕЩЕНИЯ И ЗАДН.  ЛАМПА РАБОЧ. ОСВЕЩЕНИЯ (№8-) ПЕРЕДН. ЛАМПА РАБОЧ. ОСВЕЩЕНИЯ И ЗАДН.  ЛАМПА РАБОЧ. ОСВЕЩЕНИЯ, ДЛЯ СИСТЕМА ROPS
29
26
26
7
27
22
21
20
20
26
1
2
3
4
5
6
7
8
9
19
24
25
26
27
28
32
33
34
21
18
17
16
15
14
13
12
11
20
22
20
16
20
22
21
22
21
20
10
31
33
34
28
23
32
32
30
FIT
1:1
100%

Артикул

Название

Примечание

Количество

1

14X-Y79-1511

Plate

SN: 80054-UP

1шт.

2

01010-81230

Bolt

SN: 80054-UP

2шт.

3

01643-31232

Washer

SN: 80054-UP

2шт.

4

14X-Y79-1521

Plate

SN: 80054-UP

1шт.

5

01010-81230

Bolt

SN: 80054-UP

2шт.

6

01643-31232

Washer

SN: 80054-UP

2шт.

7

17A-06-17931

Lamp

SN: 80054-UP

1шт.

8

17A-06-17970

Bulb, 70watt

SN: 80054-UP

1шт.

9

17A-06-17980

Sleeve

SN: 80054-UP

1шт.

10

14X-Y79-1531

Plate

SN: 80054-UP

1шт.

11

01010-81230

Bolt

SN: 80054-UP

2шт.

12

01643-31232

Washer

SN: 80054-UP

2шт.

13

14X-Y79-1521

Plate

SN: 80054-UP

1шт.

14

01010-81230

Bolt

SN: 80054-UP

2шт.

15

01643-31232

Washer

SN: 80054-UP

2шт.

16

17A-06-17931

Lamp

SN: 80054-UP

1шт.

17

17A-06-17970

Bulb, 70watt

SN: 80054-UP

1шт.

18

17A-06-17980

Sleeve

SN: 80054-UP

1шт.

19

14X-06-51981

Wiring Harness

SN: 80054-UP

1шт.

20

04434-51012

Clip

SN: 80054-UP

7шт.

21

01010-81220

Bolt

SN: 80054-UP

7шт.

22

01643-31232

Washer

SN: 80054-UP

7шт.

23

14X-06-51881

Bracket

SN: 80054-UP

1шт.

24

01010-81225

Bolt

SN: 80054-UP

4шт.

25

01643-31232

Washer

SN: 80054-UP

4шт.

26

17A-06-17931

Lamp

SN: 80054-UP

2шт.

27

17A-06-17970

Bulb, 70watt

SN: 80054-UP

1шт.

28

17A-06-17980

Sleeve

SN: 80054-UP

1шт.

29

14X-06-51991

Wiring Harness

SN: 80054-UP

1шт.

30

205-977-7310

Grommet

SN: 80054-UP

1шт.

31

14X-06-53550

Switch,Additional Lamp

SN: 80054-UP

1шт.

32

04434-51012

Clip

SN: 80054-UP

4шт.

33

01010-81225

Bolt

SN: 80054-UP

3шт.

34

01643-31232

Washer

SN: 80054-UP

3шт.

Выбрано товаров: 34