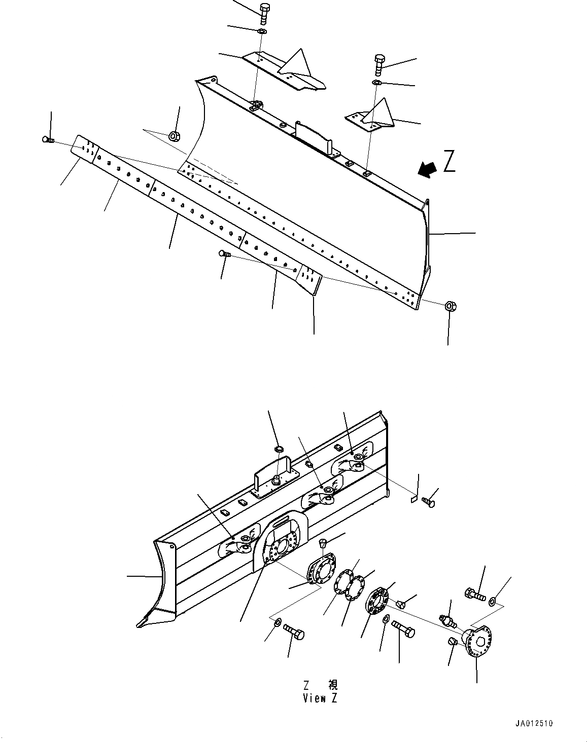
Запчасти Komatsu D65EX-16 DOZER ОТВАЛ, (№8-) DOZER ОТВАЛ, С ПОВОРОТН. ОТВАЛ С ИЗМ. УГЛОМ DOZER, ВНУТР. РАМА

Схема запчастей Komatsu D65EX-16 - DOZER ОТВАЛ, (№8-) DOZER ОТВАЛ, С ПОВОРОТН. ОТВАЛ С ИЗМ. УГЛОМ DOZER, ВНУТР. РАМА
1
2
4
4
3
6
5
6
8
7
12
11
28
9
29
26
27
9
1
18
17
16
17
18
19
19
30
22
23
24
20
21
24
31
10
14
13
25
13
14
10
15
FIT
1:1
100%

Артикул

Название

Примечание

Количество

1

14X-72-61702

Blade Assembly

SN: 81360-UP

1шт.

2

14X-72-51120

Plate,Welded

SN: 80001-UP

1шт.

3

14X-72-51131

Bracket,Welded

SN: 81360-UP

1шт.

4

14X-72-51150

Bracket,Welded

SN: 81360-UP

2шт.

5

14X-72-51810

Cutting Edge

SN: 80001-UP

1шт.

6

13G-72-61420

Cutting Edge

SN: 80001-UP

2шт.

7

14Y-71-11330

End Bit

SN: 80001-UP

1шт.

8

14Y-71-11340

End Bit

SN: 80001-UP

1шт.

9

02090-11270

Bolt

SN: 80001-UP

32шт.

10

02290-11219

Nut

SN: 80001-UP

32шт.

11

14X-72-61150

Cover

SN: 80970-UP

1шт.

12

14X-72-61381

Cover

SN: 80970-UP

1шт.

13

01010-81230

Bolt

SN: 80001-UP

8шт.

14

01643-31232

Washer

SN: 80001-UP

8шт.

15

14X-72-51390

Spacer

SN: 80001-UP

1шт.

16

134-72-62442

Bearing

SN: 80001-UP

1шт.

17

134-72-72450

Shim, T=0.5mm

SN: 80001-UP

4шт.

18

134-72-72460

Shim, T=1.0mm

SN: 80001-UP

14шт.

19

134-72-71151

Cap

SN: 80001-UP

2шт.

20

209-09-51210

Bolt

SN: 80001-UP

8шт.

21

01643-32460

Washer

SN: 80001-UP

8шт.

22

01010-82060

Bolt

SN: 80001-UP

10шт.

23

01643-32060

Washer

SN: 80001-UP

10шт.

24

07049-01215

Plug

SN: 80001-UP

6шт.

25

134-72-62474

Trunnion

SN: 80001-UP

1шт.

26

01010-82075

Bolt

SN: 80001-UP

14шт.

27

01643-32060

Washer

SN: 80001-UP

14шт.

28

07020-00000

Fitting, Grease

SN: 80001-UP

1шт.

29

07049-02228

Plug, Cork

SN: 80001-UP

3шт.

30

09601-50000

Plate, Name (Limited Supply), EU Regulation

SN: 80001-UP

1шт.

31

04418-13060

Screw

SN: 80001-UP

4шт.

Выбрано товаров: 0