Запчасти Komatsu D65EX-16 РАДИАТОР, ТРУБЫ (№8-) РАДИАТОР, С STEEL ВЕНТИЛЯТОР, ДЛЯ ЗАПЫЛЕНН МЕСТН. ARRANGEMENT, TОБОД КОЛЕСАMING СПЕЦ-ЯIFICATION

Схема запчастей Komatsu D65EX-16 - РАДИАТОР, ТРУБЫ (№8-) РАДИАТОР, С STEEL ВЕНТИЛЯТОР, ДЛЯ ЗАПЫЛЕНН МЕСТН. ARRANGEMENT, TОБОД КОЛЕСАMING СПЕЦ-ЯIFICATION
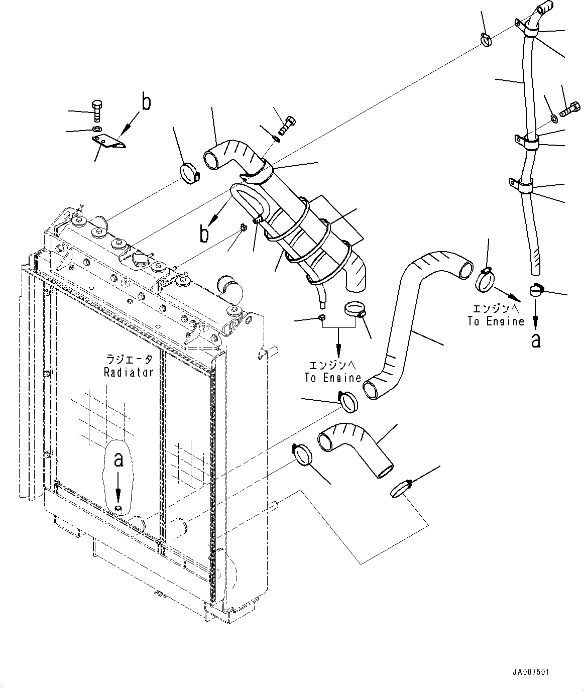
8
9
18
20
21
9
19
20
13
12
11
15
14
16
1
2
3
4
5
6
7
10
4
4
5
5
17
17
23
22
23
FIT
1:1
100%

Артикул

Название

Примечание

Количество

1

14X-03-51190

Hose

SN: 80001-UP

1шт.

2

07289-00035

Clamp

SN: 80001-UP

1шт.

3

07281-00359

Clamp, Hose

SN: 80001-UP

1шт.

4

23T-62-12160

Clip

SN: 80001-UP

3шт.

5

07095-00630

Cushion

SN: 80001-UP

3шт.

6

01010-81020

Bolt

SN: 80001-UP

3шт.

7

01643-31032

Washer

SN: 80001-UP

3шт.

8

14X-03-51211

Hose

SN: 80001-UP

1шт.

9

07289-00070

Clamp

SN: 80001-UP

2шт.

10

14X-03-51231

Hose

SN: 80001-UP

1шт.

11

14X-03-51841

Bracket

SN: 80001-UP

1шт.

12

01010-81225

Bolt

SN: 80001-UP

1шт.

13

01643-31232

Washer

SN: 80001-UP

1шт.

14

01010-81020

Bolt

SN: 80001-UP

2шт.

15

01643-31032

Washer

SN: 80001-UP

2шт.

16

14X-03-61670

Clip

SN: 80001-UP

1шт.

17

07289-00070

Clamp

SN: 80001-UP

2шт.

18

14X-03-51260

Hose Assembly

SN: 80001-UP

1шт.

19

08017-81910

Conduit

SN: 80001-UP

1шт.

20

11Y-09-11140

Clip

SN: 80001-UP

2шт.

21

134-03-61410

Band

SN: 80001-UP

3шт.

22

14X-03-51220

Hose

SN: 80001-UP

1шт.

23

07289-00070

Clamp

SN: 80001-UP

2шт.

Выбрано товаров: 23