Запчасти Komatsu D65EX-17 КРЫЛО, УПРАВЛЯЮЩ. КЛАПАН ПРОВОДКА (№-) КРЫЛО, ОТВАЛ С ПЕРЕКОСОМ, ЗАДН. -НАВЕСН. ОБОРУД, АККУМУЛЯТОР, PPC ТРУБЫ

Схема запчастей Komatsu D65EX-17 - КРЫЛО, УПРАВЛЯЮЩ. КЛАПАН ПРОВОДКА (№-) КРЫЛО, ОТВАЛ С ПЕРЕКОСОМ, ЗАДН. -НАВЕСН. ОБОРУД, АККУМУЛЯТОР, PPC ТРУБЫ
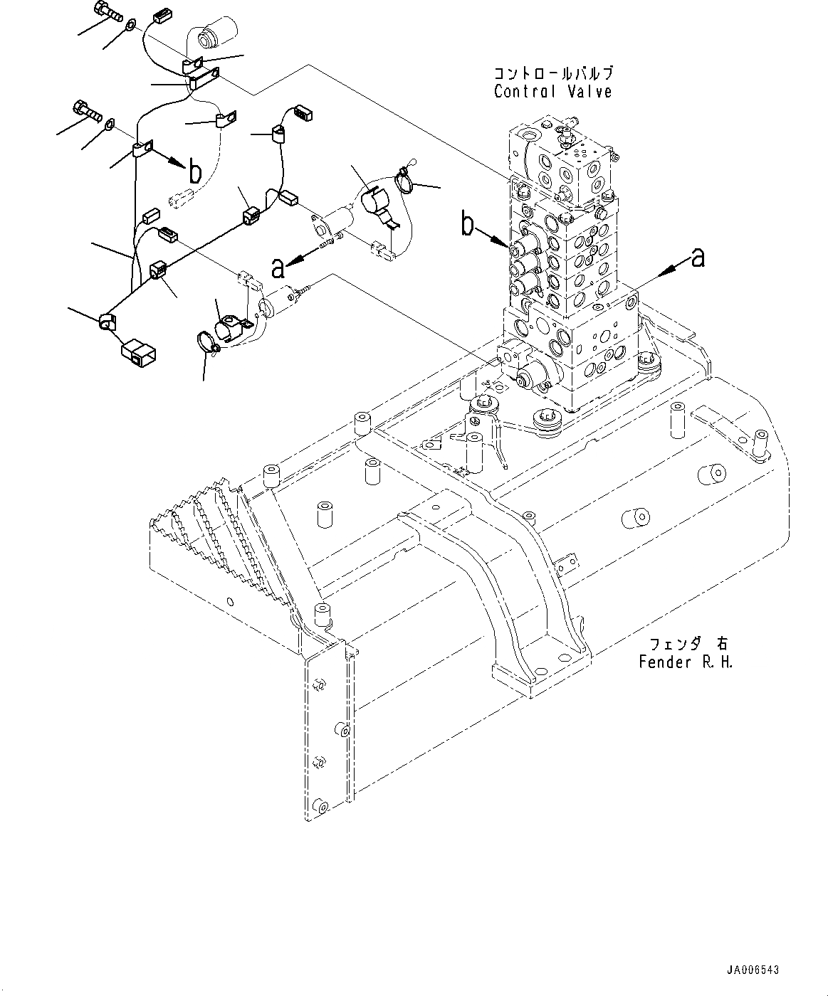
1
2
3
4
5
6
11
12
2
2
4
11
12
10
9
8
7
FIT
1:1
100%

Артикул

Название

Примечание

Количество

1

14X-06-51811

Wiring Harness

SN: 1001-UP

1шт.

2

08211-01020

Clip

SN: 1001-UP

3шт.

3

08211-00720

Clip

SN: 1001-UP

1шт.

4

04434-50612

Clip

SN: 1001-UP

2шт.

5

01010-81225

Bolt

SN: 1001-UP

2шт.

6

01643-31232

Washer

SN: 1001-UP

2шт.

7

04434-50812

Clip

SN: 1001-UP

1шт.

8

01010-81225

Bolt

SN: 1001-UP

1шт.

9

01643-31232

Washer

SN: 1001-UP

1шт.

10

515-35-13930

Clip

SN: 1001-UP

1шт.

11

21W-60-41310

Clip

SN: 1001-UP

2шт.

12

08034-40521

Band

SN: 1001-UP

2шт.

Выбрано товаров: 12