Запчасти Komatsu D65EX-17 DOZER УПРАВЛ-Е, РЫЧАГ (№-) DOZER УПРАВЛ-Е, С УСИЛ. ПОВОРОТНЫЙ ОТВАЛ

Схема запчастей Komatsu D65EX-17 - DOZER УПРАВЛ-Е, РЫЧАГ (№-) DOZER УПРАВЛ-Е, С УСИЛ. ПОВОРОТНЫЙ ОТВАЛ
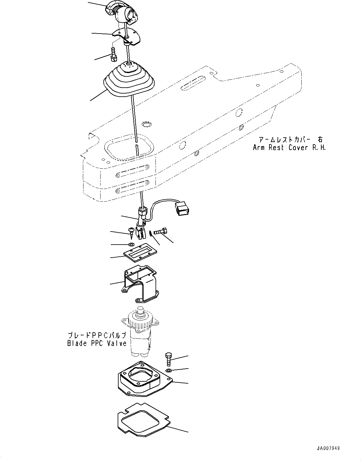
10
5
1
2
11
8
7
3
6
4
9
13
12
15
14
FIT
1:1
100%

Артикул

Название

Примечание

Количество

1

195-43-64411

Knob Assembly

SN: 1001-2115

1шт.

2

19M-43-38220

Bracket

SN: 1001-2115

1шт.

3

01252-80510

Bolt

SN: 1001-2115

3шт.

4

14X-43-34310

Lever

SN: 1001-2115

1шт.

5

07372-21030

Bolt

SN: 1001-@

1шт.

6

01640-21016

Washer

SN: 1001-@

1шт.

7

17A-43-46270

Boot

SN: 1001-2115

1шт.

8

14X-43-51350

Bracket

SN: 1001-@

1шт.

9

14X-43-51370

Seal

SN: 1001-@

1шт.

10

01010-80830

Bolt

SN: 1001-@

4шт.

11

01643-30823

Washer

SN: 1001-@

4шт.

12

14X-43-51150

Guide

SN: 1001-@

1шт.

13

14X-43-51160

Plate

SN: 1001-@

1шт.

14

01370-00512

Screw

SN: 1001-@

4шт.

15

01640-20508

Washer

SN: 1001-@

4шт.

Выбрано товаров: 15