Запчасти Komatsu D65P-11 ГИДР. БАК. AND ФИЛЬТР. (/) (ДЛЯ ВСПОМОГАТЕЛЬН. FРУКОЯТЬING ИНСТРУМЕНТ) УПРАВЛ-Е РАБОЧИМ ОБОРУДОВАНИЕМ

Схема запчастей Komatsu D65P-11 - ГИДР. БАК. AND ФИЛЬТР. (/) (ДЛЯ ВСПОМОГАТЕЛЬН. FРУКОЯТЬING ИНСТРУМЕНТ) УПРАВЛ-Е РАБОЧИМ ОБОРУДОВАНИЕМ
FIT
1:1
100%

Артикул

Название

Примечание

Количество

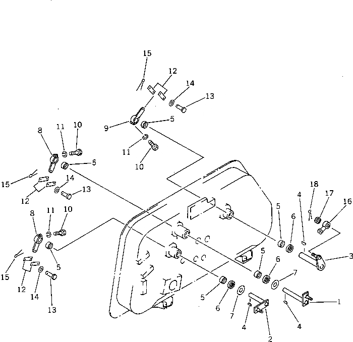
|1

144-921-3202

HYDRAULIC TANK ASS'Y

SN: 50001-UP

1шт.

|$$2

THIS ASSEMBLY CONSISTS OF ALL PARTS SHOWN IN FIGS.6015¤6016¤6211¤6212 AND 6221.

-1шт.

1

144-60-21140

LEVER

SN: 50001-UP

1шт.

2

144-Z20-6121

LEVER

SN: 50001-UP

1шт.

3

144-78-14310

LEVER

SN: 50001-UP

1шт.

4

04010-00519

KEY

SN: 50001-UP

3шт.

5

06120-02016

BEARING,NEEDLE

SN: 50001-UP

6шт.

6

130-09-11450

SEAL,OIL

SN: 50001-UP

3шт.

7

130-60-43150

PLATE

SN: 50001-UP

2шт.

8

141-60-33270

LEVER

SN: 50001-UP

2шт.

9

144-850-7280

LEVER

SN: 50001-UP

1шт.

10

01010-30830

BOLT

SN: 50001-UP

3шт.

11

01602-00825

WASHER,SPRING

SN: 50001-UP

3шт.

12

141-60-32170

YOKE

SN: 50001-UP

6шт.

13

04205-01028

PIN

SN: 50001-UP

6шт.

14

01641-01016

WASHER

SN: 50001-UP

6шт.

15

04050-03015

PIN,COTTER

SN: 50001-UP

6шт.

16

04250-41056

END,ROD

SN: 50001-UP

1шт.

17

01593-11008

NUT

SN: 50001-UP

1шт.

18

04050-12018

PIN,COTTER

SN: 50001-UP

1шт.

Выбрано товаров: 20