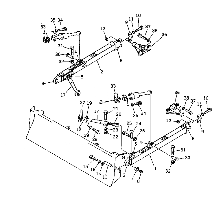
Запчасти Komatsu D65P-11 РАМА ПРЯМ. ОТВАЛА (ПРЯМ. ОТВАЛ-PICTH DOZER) РАБОЧЕЕ ОБОРУДОВАНИЕ

Схема запчастей Komatsu D65P-11 - РАМА ПРЯМ. ОТВАЛА (ПРЯМ. ОТВАЛ-PICTH DOZER) РАБОЧЕЕ ОБОРУДОВАНИЕ
FIT
1:1
100%

Артикул

Название

Примечание

Количество

|1

14F-70-00011

FRAME ASS'Y,L.H.

SN: 51168-UP

1шт.

|1

14F-70-00010

FRAME ASS'Y,L.H.

SN: 50001-51167

1шт.

|1

14F-70-00021

FRAME ASS'Y,R.H.

SN: 51168-UP

1шт.

|1

14F-70-00020

FRAME ASS'Y,R.H.

SN: 50001-51167

1шт.

1

0

FRAME,L.H.

SN: 51168-UP

1шт.

|1

0

FRAME,L.H.

SN: 50001-51167

1шт.

2

0

FRAME,R.H.

SN: 51168-UP

1шт.

|2

0

FRAME,R.H.

SN: 50001-51167

1шт.

3

14F-70-81530

JOINT

SN: 51168-UP

1шт.

|3

14F-70-81230

JOINT (WELDED)

SN: 50001-51167

1шт.

4

144-Z20-3180

BRACKET (WELDED)

SN: 50001-UP

1шт.

5

144-920-3172

BRACKET (WELDED)

SN: 50001-UP

1шт.

6

0

BEARING,(WELDED) (KIT)

SN: 50001-UP

1шт.

7

13F-Z27-2250

BUSHING

SN: 50001-UP

1шт.

8

13F-Z27-2260

BUSHING

SN: 50001-UP

1шт.

9

144-Z20-3351

CAP (KIT)

SN: 50001-UP

1шт.

10

01011-82465

BOLT (KIT)

SN: 50001-UP

2шт.

11

01643-32460

WASHER (KIT)

SN: 50001-UP

2шт.

12

130-70-13241

NUT (KIT)

SN: 50001-UP

2шт.

13

144-817-1260

SHAFT

SN: 50001-UP

2шт.

14

144-920-1780

LOCK

SN: 50001-UP

2шт.

15

01010-51635

BOLT

SN: 50001-UP

4шт.

16

01643-31645

WASHER

SN: 50001-UP

4шт.

17

144-817-2324

BRACE,CENTER

SN: 50001-UP

2шт.

18

144-920-2610

JOINT (WELDED)

SN: 50001-UP

1шт.

19

144-817-2420

RETAINER

SN: 50001-UP

1шт.

20

144-817-2570

JOINT

SN: 50001-UP

2шт.

21

01011-52025

BOLT

SN: 50001-UP

2шт.

22

01580-12016

NUT

SN: 50001-UP

2шт.

23

01643-22045

WASHER

SN: 50001-UP

2шт.

24

13F-Z27-5610

PIN

SN: 50001-UP

2шт.

25

01010-51265

BOLT

SN: 50001-UP

2шт.

26

01598-01214

NUT

SN: 50001-UP

2шт.

27

144-817-0611

SHIM ASS'Y

SN: 50001-UP

2шт.

|27

0

SHIM¤ 0.5MM

SN: 50001-UP

4шт.

|27

0

SHIM¤ 1.0MM

SN: 50001-UP

6шт.

28

01010-52070

BOLT

SN: 50001-UP

8шт.

29

01602-22060

WASHER,SPRING

SN: 50001-UP

8шт.

30

13F-Z27-5610

PIN

SN: 50001-UP

2шт.

31

01010-51265

BOLT

SN: 50001-UP

2шт.

32

01598-01214

NUT

SN: 50001-UP

2шт.

33

144-817-0620

SHIM ASS'Y

SN: 50001-UP

2шт.

|33

0

SHIM¤ 0.5MM

SN: 50001-UP

6шт.

|33

0

SHIM¤ 1.0MM

SN: 50001-UP

8шт.

34

01010-51865

BOLT

SN: 50001-UP

8шт.

35

01643-21845

WASHER

SN: 50001-UP

8шт.

36

144-Z17-3160

TRUNNION

SN: 50001-UP

2шт.

|36

144-Z20-3150

SHAFT (WELDED)

SN: 50001-UP

1шт.

37

01010-52045

BOLT

SN: 50001-UP

16шт.

38

01643-32060

WASHER

SN: 50001-UP

16шт.

|$$51

SERVICE KIT

-1шт.

|6

144-Z20-0010

PIVOT ASS'Y

SN: 50001-UP

2шт.

6

0

BEARING

SN: 50001-UP

1шт.

9

144-Z20-3351

CAP

SN: 50001-UP

1шт.

10

01011-82465

BOLT

SN: 50001-UP

2шт.

11

01643-32460

WASHER

SN: 50001-UP

2шт.

12

130-70-13241

NUT

SN: 50001-UP

2шт.

Выбрано товаров: 57