Запчасти Komatsu D65P-11 РАДИАТОР КОМПОНЕНТЫ ДВИГАТЕЛЯ И ЭЛЕКТРИКА

Схема запчастей Komatsu D65P-11 - РАДИАТОР КОМПОНЕНТЫ ДВИГАТЕЛЯ И ЭЛЕКТРИКА
FIT
1:1
100%

Артикул

Название

Примечание

Количество

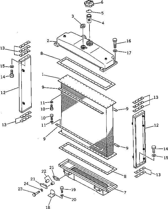
|1

14G-03-00410

RADIATOR ASS'Y

SN: 50001-UP

1шт.

1

144-03-51310

CORE

SN: 50001-UP

1шт.

2

144-03-51320

TANK,UPPER

SN: 50001-UP

1шт.

3

125-03-21210

CAP

SN: 50001-UP

1шт.

4

07056-00048

STRAINER

SN: 50001-UP

1шт.

5

07057-03271

RING

SN: 50001-UP

1шт.

6

07053-10000

CAP

SN: 50001-UP

1шт.

|6

07053-00002

GASKET

SN: 50001-UP

1шт.

7

14G-03-81130

TANK,LOWER

SN: 50001-UP

1шт.

8

144-03-15160

PACKING

SN: 50001-UP

2шт.

9

144-03-15150

PLATE

SN: 50001-UP

4шт.

10

01010-51025

BOLT

SN: 50001-UP

64шт.

11

01602-21030

WASHER,SPRING

SN: 50001-UP

64шт.

12

144-03-51340

SUPPORT

SN: 50001-UP

2шт.

13

144-03-15170

SHIM¤ 0.6MM

SN: 50001-UP

10шт.

14

01010-51235

BOLT

SN: 50001-UP

12шт.

15

01602-21236

WASHER,SPRING

SN: 50001-UP

12шт.

16

01010-51240

BOLT

SN: 50001-UP

4шт.

17

01602-21236

WASHER,SPRING

SN: 50001-UP

4шт.

18

14G-03-11231

BRACKET

SN: 50001-UP

2шт.

19

01010-51035

BOLT

SN: 50001-UP

6шт.

20

01602-21030

WASHER,SPRING

SN: 50001-UP

6шт.

21

6675-61-7770

DAMPER

SN: 50001-UP

4шт.

22

6675-61-7780

SPACER

SN: 50001-UP

4шт.

23

01010-51260

BOLT

SN: 50001-UP

4шт.

24

01602-21236

WASHER,SPRING

SN: 50001-UP

4шт.

Выбрано товаров: 26