Запчасти Komatsu D65P-11 ПЕДАЛЬ ЗАМЕДЛИТЕЛЯ ОБОРОТОВ СИСТЕМА УПРАВЛЕНИЯ

Схема запчастей Komatsu D65P-11 - ПЕДАЛЬ ЗАМЕДЛИТЕЛЯ ОБОРОТОВ СИСТЕМА УПРАВЛЕНИЯ
FIT
1:1
100%

Артикул

Название

Примечание

Количество

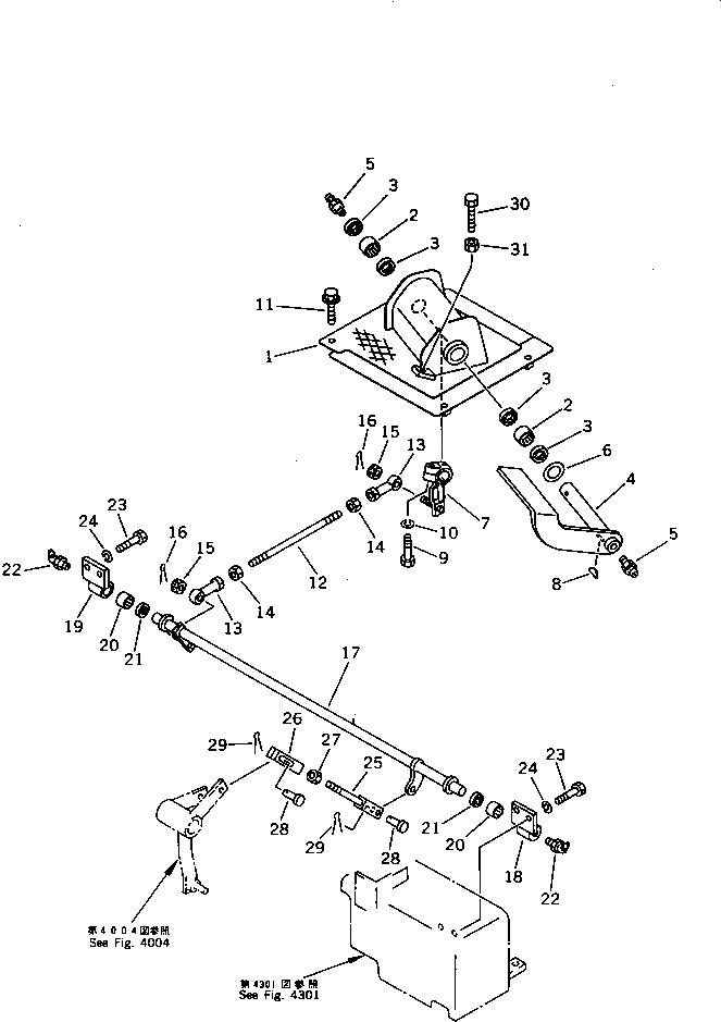
1

144-43-25450

FLOOR

SN: 50001-UP

1шт.

|1

144-43-25451

FLOOR,(FOR STEEL CAB)

SN: 50691-UP

1шт.

2

06120-02016

BEARING,NEEDLE

SN: 50001-UP

2шт.

3

06122-02004

SEAL,BEARING

SN: 50001-UP

4шт.

4

124-43-32381

PEDAL

SN: 50001-UP

1шт.

5

07020-00000

FITTING,GREASE

SN: 50001-UP

2шт.

6

01640-22032

WASHER

SN: 50001-UP

1шт.

7

144-43-25430

LEVER

SN: 50001-UP

1шт.

8

04010-00519

KEY

SN: 50001-UP

1шт.

9

01010-50830

BOLT

SN: 50001-UP

1шт.

10

01602-20825

WASHER,SPRING

SN: 50001-UP

1шт.

11

01439-01220

BOLT

SN: 50001-UP

2шт.

12

04245-50820

ROD

SN: 50001-UP

1шт.

13

04250-50847

END,ROD

SN: 50001-UP

2шт.

14

01580-10806

NUT

SN: 50001-UP

2шт.

15

01590-30809

NUT

SN: 50001-UP

2шт.

16

04050-12015

PIN,COTTER

SN: 50001-UP

2шт.

17

144-43-25440

SHAFT

SN: 50001-UP

1шт.

18

144-43-25410

BRACKET,L.H.

SN: 50001-UP

1шт.

19

144-43-25420

BRACKET,R.H.

SN: 50001-UP

1шт.

20

06120-01612

BEARING,NEEDLE

SN: 50001-UP

2шт.

21

06122-01603

SEAL,BEARING

SN: 50001-UP

2шт.

22

07020-00675

FITTING,GREASE

SN: 50001-UP

2шт.

23

01010-51030

BOLT

SN: 50001-UP

4шт.

24

01602-21030

WASHER,SPRING

SN: 50001-UP

4шт.

25

04244-40808

ROD

SN: 50001-UP

1шт.

26

20X-43-12340

YOKE

SN: 50001-UP

1шт.

27

01580-10806

NUT

SN: 50001-UP

1шт.

28

04205-10822

PIN

SN: 50001-UP

2шт.

29

04050-12012

PIN,COTTER

SN: 50001-UP

2шт.

30

01016-50840

BOLT

SN: 50001-UP

2шт.

31

01580-10806

NUT

SN: 50001-UP

2шт.

Выбрано товаров: 32