Запчасти Komatsu 6D125-1ZZ РУЛЕВ. УПРАВЛЕНИЕ МАСЛООХЛАДИТЕЛЬ СИСТЕМА СМАЗКИ МАСЛ. СИСТЕМА

Схема запчастей Komatsu 6D125-1ZZ - РУЛЕВ. УПРАВЛЕНИЕ МАСЛООХЛАДИТЕЛЬ СИСТЕМА СМАЗКИ МАСЛ. СИСТЕМА
FIT
1:1
100%

Артикул

Название

Примечание

Количество

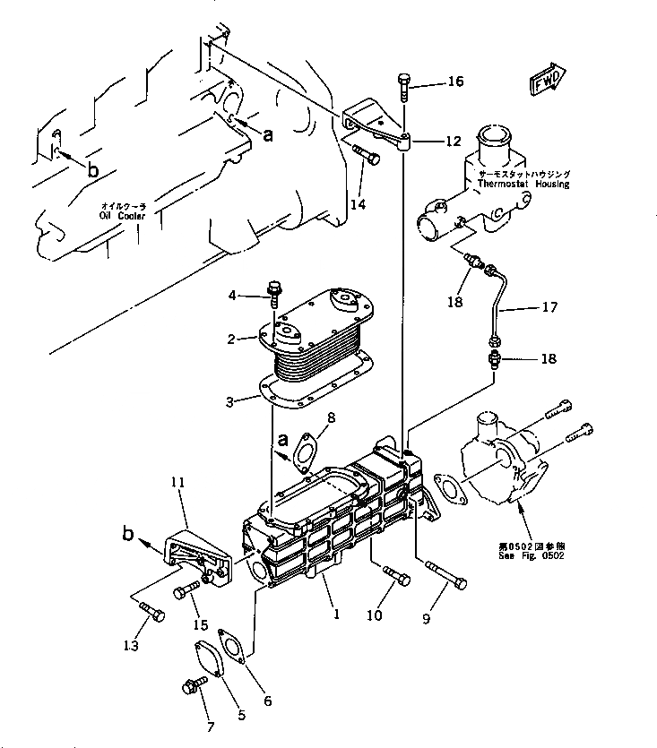
1

6150-61-9111

HOUSING

SN: 26319-UP

1шт.

2

6150-61-9320

ELEMENT

SN: 26319-UP

1шт.

3

6150-61-9130

GASKET (K2)

SN: 26319-UP

1шт.

4

01435-01020

BOLT

SN: 26319-UP

11шт.

5

6150-61-9140

PLATE

SN: 26319-UP

1шт.

6

6150-61-9150

GASKET (K2)

SN: 26319-UP

1шт.

7

01435-01025

BOLT

SN: 26319-UP

2шт.

8

6150-61-1820

GASKET (K2)

SN: 26319-UP

1шт.

9

01011-51030

BOLT

SN: 26319-UP

1шт.

10

01010-51030

BOLT

SN: 26319-UP

1шт.

11

6150-61-9511

BRACKET

SN: 26319-UP

1шт.

12

6150-61-9520

BRACKET

SN: 26319-UP

1шт.

13

01010-51030

BOLT

SN: 26319-UP

2шт.

14

01010-51025

BOLT

SN: 26319-UP

2шт.

15

01010-51040

BOLT

SN: 26319-UP

3шт.

16

01010-51045

BOLT

SN: 26319-UP

2шт.

17

6150-61-9350

TUBE

SN: 26319-UP

1шт.

18

07214-50510

CONNECTOR

SN: 26319-UP

2шт.

1

6150-61-9111

HOUSING

SN: 26319-UP

1шт.

2

6150-61-9320

ELEMENT

SN: 26319-UP

1шт.

3

6150-61-9130

GASKET (K2)

SN: 26319-UP

1шт.

4

01435-01020

BOLT

SN: 26319-UP

11шт.

5

6150-61-9140

PLATE

SN: 26319-UP

1шт.

6

6150-61-9150

GASKET (K2)

SN: 26319-UP

1шт.

7

01435-01025

BOLT

SN: 26319-UP

2шт.

8

6150-61-1820

GASKET (K2)

SN: 26319-UP

1шт.

9

01011-51030

BOLT

SN: 26319-UP

1шт.

10

01010-51030

BOLT

SN: 26319-UP

1шт.

11

6150-61-9511

BRACKET

SN: 26319-UP

1шт.

12

6150-61-9520

BRACKET

SN: 26319-UP

1шт.

13

01010-51030

BOLT

SN: 26319-UP

2шт.

14

01010-51025

BOLT

SN: 26319-UP

2шт.

15

01010-51040

BOLT

SN: 26319-UP

3шт.

16

01010-51045

BOLT

SN: 26319-UP

2шт.

17

6150-61-9350

TUBE

SN: 26319-UP

1шт.

18

07214-50510

CONNECTOR

SN: 26319-UP

2шт.

Выбрано товаров: 36