Запчасти Komatsu D65P-11D LINING ОТВАЛ РАБОЧЕЕ ОБОРУДОВАНИЕ

Схема запчастей Komatsu D65P-11D - LINING ОТВАЛ РАБОЧЕЕ ОБОРУДОВАНИЕ
FIT
1:1
100%

Артикул

Название

Примечание

Количество

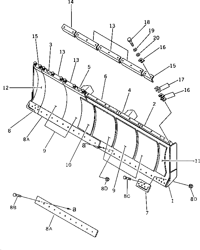
1

144-Z17-4211

BLADE ASS'Y

SN: 50001-UP

1шт.

2

144-917-4280

PLATE,L.H. (WELDED)

SN: 50001-UP

1шт.

3

144-917-4290

PLATE,R.H. (WELDED)

SN: 50001-UP

1шт.

4

144-Z17-4220

PLATE,L.H. (WELDED)

SN: 50001-UP

1шт.

5

144-Z17-4230

PLATE,R.H. (WELDED)

SN: 50001-UP

1шт.

6

144-917-4330

PLATE (WELDED)

SN: 50001-UP

1шт.

7

13F-Z27-1830

BIT,END¤ L.H.

SN: 50001-UP

1шт.

8

13F-Z27-1840

BIT,END¤ R.H.

SN: 50001-UP

1шт.

8A

144-70-11131

EDGE,CUTTING

SN: 50001-UP

2шт.

8B

02090-11270

BOLT

SN: 50001-UP

28шт.

8C

02091-11210

BOLT

SN: 50001-UP

4шт.

8D

02290-11219

NUT

SN: 50001-UP

32шт.

9

144-917-4220

PLATE

SN: 50001-UP

5шт.

10

144-917-4230

PLATE

SN: 50001-UP

1шт.

11

144-917-4350

PLATE,L.H.

SN: 50001-UP

1шт.

12

144-917-4360

PLATE,R.H.

SN: 50001-UP

1шт.

13

13F-Z27-1770

PLATE

SN: 50001-UP

5шт.

14

144-917-4260

PLATE

SN: 50001-UP

1шт.

15

144-917-4270

PLATE

SN: 50001-UP

2шт.

16

13F-Z27-1810

PLATE¤ 4.5MM

SN: 50001-UP

63шт.

17

13F-Z27-1820

PLATE¤ 2.3MM

SN: 50001-UP

42шт.

18

01010-51255

BOLT

SN: 50001-UP

21шт.

19

01602-21236

WASHER,SPRING

SN: 50001-UP

21шт.

20

01643-31232

WASHER

SN: 50001-UP

21шт.

Выбрано товаров: 24