Запчасти Komatsu D65P-11D ЦИЛИНДР ПЕРЕКОСА ОТВАЛА (ДЛЯ ПРЯМОГО ОТВАЛА) РАБОЧЕЕ ОБОРУДОВАНИЕ

Схема запчастей Komatsu D65P-11D - ЦИЛИНДР ПЕРЕКОСА ОТВАЛА (ДЛЯ ПРЯМОГО ОТВАЛА) РАБОЧЕЕ ОБОРУДОВАНИЕ
FIT
1:1
100%

Артикул

Название

Примечание

Количество

G-1

0

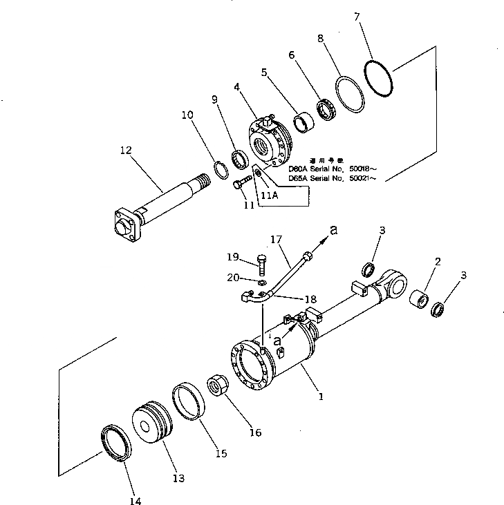
CYLINDER GROUP,TILT

SN: 50435-UP

1шт.

G-1

0

CYLINDER GROUP,TILT

SN: 50001-50434

1шт.

|$$3

====================

-1шт.

|1

14F-63-03030

CYLINDER ASS'Y,TILT

SN: 50435-UP

1шт.

|1

0

CYLINDER ASS'Y,TILT

SN: 50001-50434

1шт.

1

14F-63-52150

CYLINDER

SN: 50435-UP

1шт.

|1

0

CYLINDER

SN: 50001-50434

1шт.

2

07143-10505

BUSHING

SN: 50001-UP

1шт.

3

07145-00050

SEAL,DUST (K3)

SN: 50001-UP

2шт.

4

707-27-16740

HEAD,CYLINDER

SN: 50435-UP

1шт.

|4

707-27-16230

HEAD,CYLINDER

SN: 50001-50434

1шт.

5

707-52-10700

BUSHING

SN: 50001-UP

1шт.

6

707-51-70211

PACKING,ROD (K3)

SN: 50001-UP

1шт.

7

07000-15150

O-RING (K3)

SN: 50001-UP

1шт.

8

07146-05152

RING,BACK-UP (K3)

SN: 50001-UP

1шт.

9

07016-20708

SEAL,DUST (K3)

SN: 50001-UP

1шт.

10

07179-12084

RING,SNAP

SN: 50001-UP

1шт.

11

01010-81660

BOLT

SN: 50435-UP

12шт.

|11

01010-81645

BOLT

SN: 50001-50434

12шт.

11A

01643-51645

WASHER

SN: 50435-UP

12шт.

12

14F-63-52120

ROD,PISTON

SN: 50001-UP

1шт.

13

707-36-16360

PISTON

SN: 50001-UP

1шт.

14

707-44-16180

RING,PISTON (K3)

SN: 50435-UP

1шт.

|14

707-44-16080

RING,PISTON

SN: 50001-50434

1шт.

15

07156-01620

RING,WEAR (K3)

SN: 50001-UP

1шт.

16

07165-15252

NUT

SN: 50001-UP

1шт.

17

14F-63-52180

TUBE,TILT

SN: 50001-UP

1шт.

18

04434-01508

CLIP

SN: 50001-UP

1шт.

19

01010-50812

BOLT

SN: 50001-UP

1шт.

20

01643-50823

WASHER

SN: 50001-UP

1шт.

|$$31

====================

-1шт.

Выбрано товаров: 0