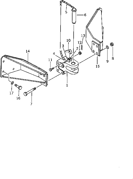
Запчасти Komatsu D65P-11D СЦЕПНОЕ УСТРОЙСТВО РАБОЧЕЕ ОБОРУДОВАНИЕ

Схема запчастей Komatsu D65P-11D - СЦЕПНОЕ УСТРОЙСТВО РАБОЧЕЕ ОБОРУДОВАНИЕ
FIT
1:1
100%

Артикул

Название

Примечание

Количество

|1

144-69-00011

DRAWBAR ASS'Y

SN: 50001-UP

1шт.

1

144-69-11120

DRAWBAR ASS'Y

SN: 50001-UP

1шт.

2

131-69-11120

PLATE

SN: 50001-UP

1шт.

3

131-69-11130

PLATE

SN: 50001-UP

1шт.

4

09245-50060

HOOK

SN: 50001-UP

1шт.

5

09245-04830

CHAIN

SN: 50001-UP

1шт.

6

09247-45180

PIN

SN: 50001-UP

1шт.

7

144-69-11161

BOLT,REAMER

SN: 50001-UP

4шт.

8

01582-12419

NUT

SN: 50001-UP

4шт.

9

01602-22472

WASHER,SPRING

SN: 50001-UP

4шт.

10

09249-00016

LATCH

SN: 50001-UP

1шт.

11

01052-51260

BOLT

SN: 50001-UP

1шт.

12

01592-11215

NUT

SN: 50001-UP

1шт.

13

04050-13025

PIN,COTTER

SN: 50001-UP

1шт.

14

144-69-11140

BRACKET,L.H.

SN: 50001-UP

1шт.

15

144-69-11150

BRACKET,R.H.

SN: 50001-UP

1шт.

16

01010-83375

BOLT

SN: 50001-UP

6шт.

17

01643-33380

WASHER

SN: 50001-UP

6шт.

Выбрано товаров: 18