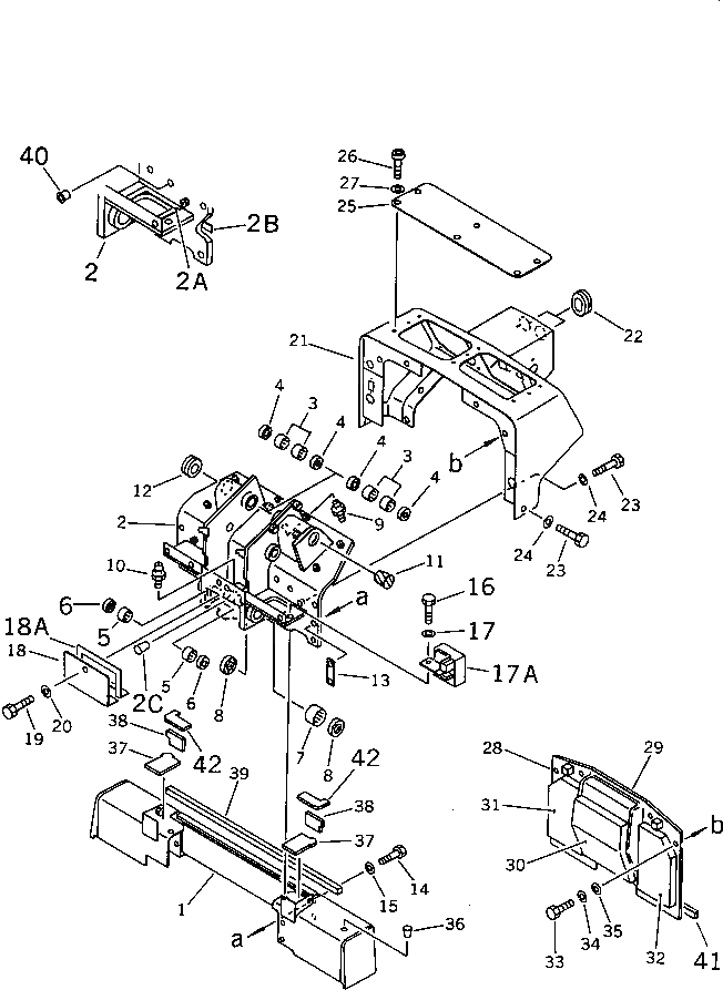
Запчасти Komatsu D65P-11D ПРИБОРНАЯ ПАНЕЛЬ И РАМА(№87-) СИСТЕМА УПРАВЛЕНИЯ

Схема запчастей Komatsu D65P-11D - ПРИБОРНАЯ ПАНЕЛЬ И РАМА(№87-) СИСТЕМА УПРАВЛЕНИЯ
FIT
1:1
100%

Артикул

Название

Примечание

Количество

1

144-43-81321

BRACKET

SN: 50387-UP

1шт.

2

144-43-51181

FRAME

SN: 50691-UP

1шт.

|2

0

FRAME

SN: 50387-50690

1шт.

2A

144-A62-8410

SEAL,(L=1000MM)

SN: 50691-UP

1шт.

2B

144-Y11-3730

SEAL,(L=1000MM)

SN: 50691-UP

1шт.

2C

07049-01215

PLUG

SN: 50691-UP

2шт.

3

06120-03020

BEARING,NEEDLE

SN: 50387-UP

4шт.

4

06122-03004

SEAL,BEARING

SN: 50387-UP

4шт.

5

06120-02016

BEARING,NEEDLE

SN: 50387-UP

2шт.

6

06122-02004

SEAL,BEARING

SN: 50387-UP

2шт.

7

06120-05025

BEARING,NEEDLE

SN: 50387-UP

2шт.

8

06122-05004

SEAL,BEARING

SN: 50387-UP

4шт.

9

07020-00001

FITTING,GREASE

SN: 50387-UP

3шт.

10

07020-00000

FITTING,GREASE

SN: 50387-UP

1шт.

11

07049-04253

PLUG

SN: 50387-UP

1шт.

12

09415-03614

CAP

SN: 50387-UP

1шт.

13

01573-22310

SEAT

SN: 50387-UP

2шт.

14

01010-51270

BOLT

SN: 50387-UP

4шт.

15

01643-31232

WASHER

SN: 50387-UP

4шт.

16

01010-51245

BOLT

SN: 50691-UP

2шт.

|16

01010-51235

BOLT

SN: 50387-50690

2шт.

17

01643-31232

WASHER

SN: 50387-UP

2шт.

17A

144-54-82520

BRACKET,L.H.

SN: 50691-UP

1шт.

|17A

144-54-82530

BRACKET,R.H.

SN: 50691-UP

1шт.

18

144-43-81150

COVER

SN: 50691-UP

1шт.

|18

0

COVER

SN: 50387-50690

1шт.

18A

144-A62-8410

SEAL,(L=1000MM)

SN: 50691-UP

1шт.

19

01010-51225

BOLT

SN: 50387-UP

2шт.

20

01643-31232

WASHER

SN: 50387-UP

2шт.

21

144-54-81112

BOARD,DASH

SN: 50691-UP

1шт.

|21

0

BOARD,DASH

SN: 50387-50690

1шт.

22

130-54-61270

GUIDE

SN: 50387-UP

2шт.

23

01010-51235

BOLT

SN: 50387-UP

10шт.

24

01643-31232

WASHER

SN: 50387-UP

10шт.

25

144-54-81131

COVER

SN: 50387-UP

1шт.

26

23S-06-14990

SCREW

SN: 50387-UP

6шт.

27

362-06-21140

WASHER

SN: 50387-UP

6шт.

|28

144-A62-8481

COVER

SN: 50691-UP

1шт.

|28

0

COVER

SN: 50387-50690

1шт.

28

144-54-24120

COVER

SN: 50387-UP

1шт.

29

144-Y11-3730

SEAL,(L=1000MM)

SN: 50691-UP

3шт.

|29

0

SEAL,(L=1000MM)

SN: 50387-50690

3шт.

30

144-A62-8490

ABSORBER

SN: 50387-UP

1шт.

31

144-A62-8510

ABSORBER

SN: 50387-UP

1шт.

32

144-A62-8520

ABSORBER

SN: 50387-UP

1шт.

33

01010-51225

BOLT

SN: 50387-UP

7шт.

34

01602-21236

WASHER,SPRING

SN: 50387-UP

7шт.

35

01643-31232

WASHER

SN: 50387-UP

7шт.

36

07049-01620

PLUG

SN: 50387-UP

6шт.

37

144-54-82330

SEAT

SN: 50387-50690

2шт.

38

144-54-82340

SEAT

SN: 50387-50690

2шт.

39

144-54-82350

SEAT

SN: 50387-UP

1шт.

40

130-911-1640

PLUG

SN: 50387-UP

2шт.

41

144-Y11-3870

SEAL,(L=1000MM)

SN: 50691-UP

1шт.

42

144-Y11-3851

SHEET

SN: 50691-UP

2шт.

Выбрано товаров: 55