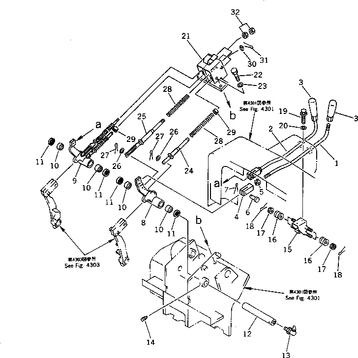
Запчасти Komatsu D65P-11D РЫЧАГ УПРАВЛЕНИЯ ПОВОРОТОМ СИСТЕМА УПРАВЛЕНИЯ

Схема запчастей Komatsu D65P-11D - РЫЧАГ УПРАВЛЕНИЯ ПОВОРОТОМ СИСТЕМА УПРАВЛЕНИЯ
FIT
1:1
100%

Артикул

Название

Примечание

Количество

1

144-43-81110

LEVER,L.H.

SN: 50001-UP

1шт.

2

144-43-81120

LEVER,R.H.

SN: 50001-UP

1шт.

3

09305-11400

KNOB

SN: 50001-UP

2шт.

4

04210-21456

YOKE

SN: 50001-UP

2шт.

5

01582-11411

NUT

SN: 50001-UP

2шт.

6

04205-11438

PIN

SN: 50001-UP

2шт.

7

04050-14025

PIN,COTTER

SN: 50001-UP

2шт.

8

144-43-31240

LEVER,L.H.

SN: 50001-UP

1шт.

9

144-43-31250

LEVER,R.H.

SN: 50001-UP

1шт.

10

06120-03020

BEARING,NEEDLE

SN: 50001-UP

4шт.

11

06122-03004

SEAL,BEARING

SN: 50001-UP

4шт.

12

120-43-39311

SHAFT

SN: 50001-UP

1шт.

13

07020-00900

FITTING,GREASE

SN: 50001-UP

1шт.

14

01322-40812

SCREW

SN: 50001-UP

1шт.

15

144-43-81130

BRACKET

SN: 50001-UP

1шт.

16

09365-00826

ROLLER

SN: 50001-UP

4шт.

17

01590-30809

NUT

SN: 50001-UP

4шт.

18

04050-12015

PIN,COTTER

SN: 50001-UP

4шт.

19

01439-01020

BOLT

SN: 50001-UP

2шт.

20

01643-31032

WASHER

SN: 50001-UP

2шт.

21

144-43-31163

BRACKET

SN: 50001-UP

1шт.

22

01010-51225

BOLT

SN: 50001-UP

2шт.

23

01643-31232

WASHER

SN: 50001-UP

2шт.

24

144-43-31290

SHAFT

SN: 50001-UP

2шт.

25

144-43-31280

SHAFT

SN: 50001-UP

2шт.

26

01642-20810

WASHER

SN: 50001-UP

4шт.

27

04050-12012

PIN,COTTER

SN: 50001-UP

4шт.

28

176-76-27620

SPRING

SN: 50001-UP

4шт.

29

120-43-39331

GUIDE

SN: 50001-UP

2шт.

30

01642-21016

WASHER

SN: 50001-UP

2шт.

31

04050-13015

PIN,COTTER

SN: 50001-UP

2шт.

32

01582-11008

NUT

SN: 50001-UP

4шт.

Выбрано товаров: 32