Запчасти Komatsu D65P-11D АККУМУЛЯТОР КОМПОНЕНТЫ ДВИГАТЕЛЯ И ЭЛЕКТРИКА

Схема запчастей Komatsu D65P-11D - АККУМУЛЯТОР КОМПОНЕНТЫ ДВИГАТЕЛЯ И ЭЛЕКТРИКА
FIT
1:1
100%

Артикул

Название

Примечание

Количество

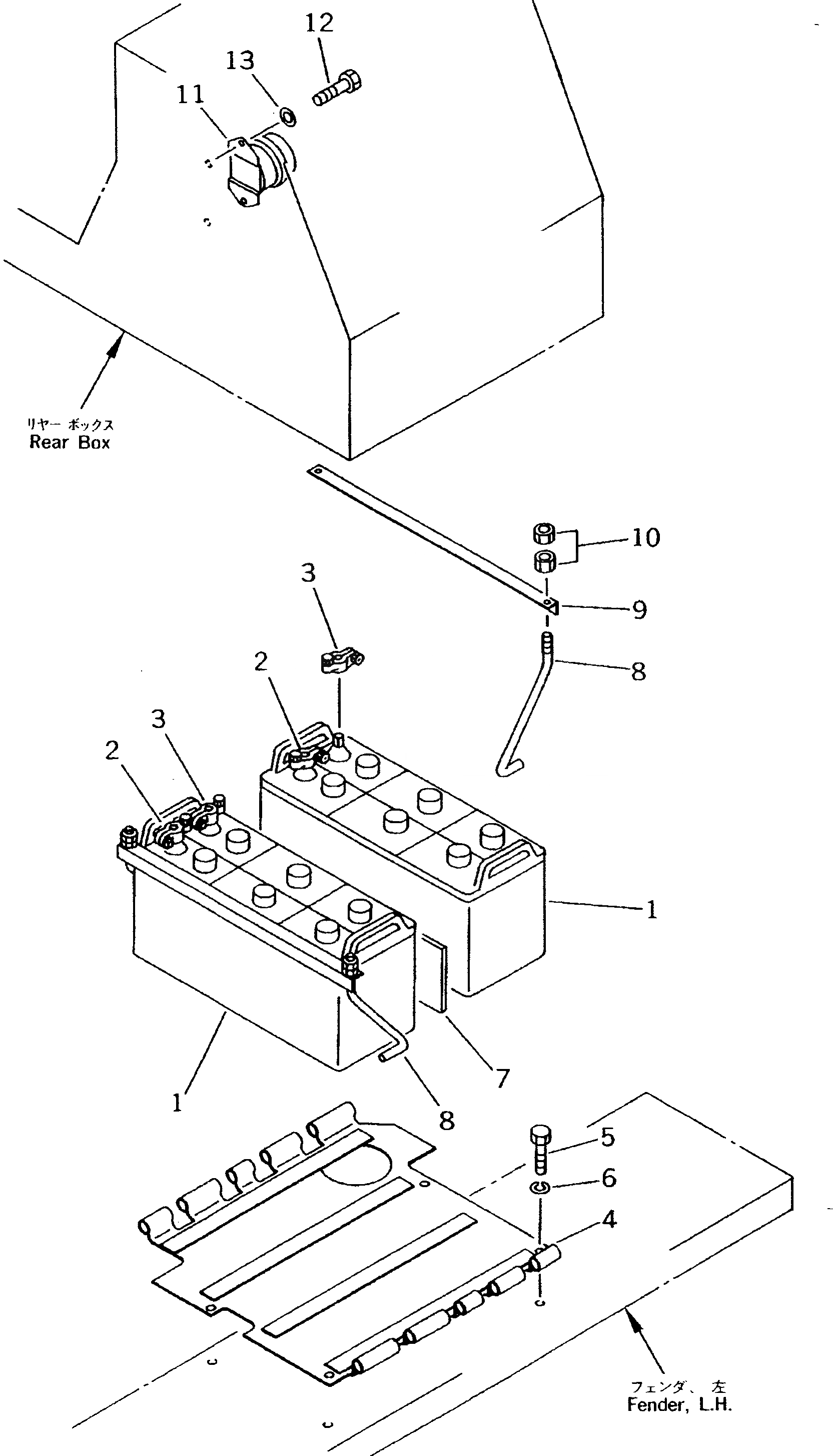
1

08000-32215

BATTERY (145F51)

SN: 50001-UP

2шт.

|1

08000-32220

BATTERY (165G51)

SN: 50001-UP

2шт.

2

08000-00000

TERMINAL¤ (+)

SN: 50001-UP

2шт.

3

08000-00001

TERMINAL¤ (-)

SN: 50001-UP

2шт.

4

144-06-83110

PLATE

SN: 50001-UP

1шт.

5

01010-51230

BOLT

SN: 50001-UP

4шт.

6

01602-21236

WASHER,SPRING

SN: 50001-UP

4шт.

7

120-06-31171

PLATE

SN: 50001-UP

1шт.

8

120-06-31151

BOLT

SN: 50001-UP

4шт.

9

120-06-31141

HOLDER

SN: 50001-UP

2шт.

10

01580-11008

NUT

SN: 50001-UP

8шт.

11

08088-10000

SWITCH,BATTERY RELAY

SN: 50001-UP

1шт.

12

01010-50820

BOLT

SN: 50001-UP

2шт.

13

01643-30823

WASHER

SN: 50001-UP

2шт.

Выбрано товаров: 14