Запчасти Komatsu D65P-12 ROPS SWEEP (КРЫША ЧАСТИ КОРПУСА И SWEEP) КАБИНА ОПЕРАТОРА И СИСТЕМА УПРАВЛЕНИЯ

Схема запчастей Komatsu D65P-12 - ROPS SWEEP (КРЫША ЧАСТИ КОРПУСА И SWEEP) КАБИНА ОПЕРАТОРА И СИСТЕМА УПРАВЛЕНИЯ
FIT
1:1
100%

Артикул

Название

Примечание

Количество

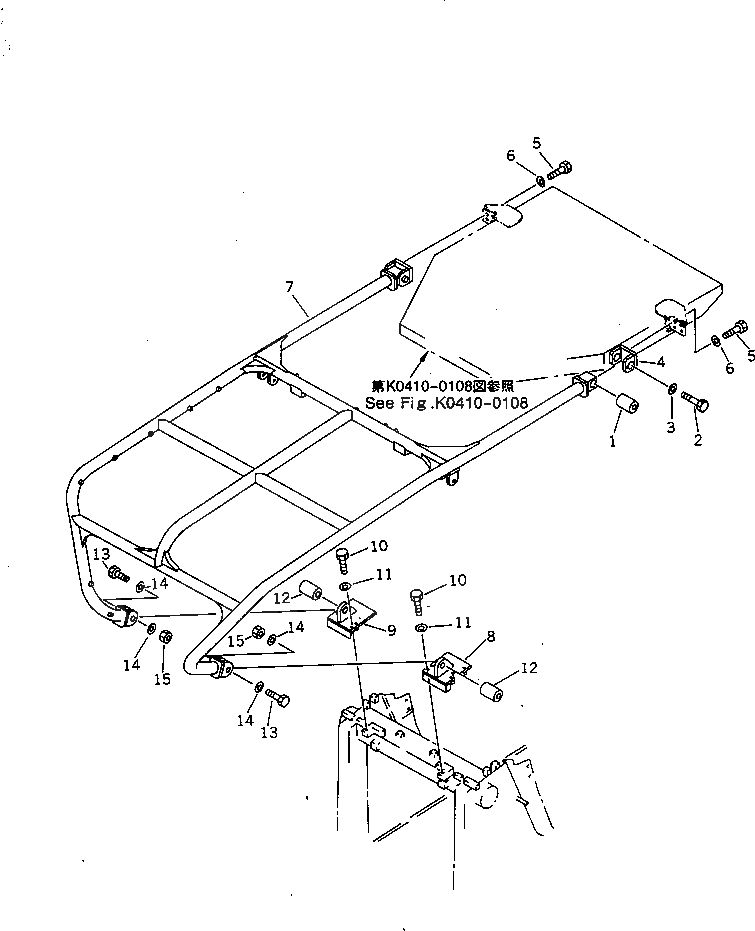
1

195-978-1311

ISOLATOR

SN: 60001-UP

2шт.

2

01011-52450

BOLT

SN: 60001-UP

2шт.

3

01643-32460

WASHER

SN: 60001-UP

2шт.

4

14X-978-2370

BRACKET

SN: 60001-UP

2шт.

5

01010-51240

BOLT

SN: 60001-UP

8шт.

6

01643-31232

WASHER

SN: 60001-UP

8шт.

7

14X-978-2121

SWEEP

SN: 60001-UP

1шт.

8

14W-906-1151

BRACKET,L.H.

SN: 60001-UP

1шт.

9

14W-906-1161

BRACKET,R.H.

SN: 60001-UP

1шт.

10

01010-51275

BOLT

SN: 60001-UP

8шт.

11

01643-31232

WASHER

SN: 60001-UP

8шт.

12

14X-978-2310

COLLAR

SN: 60001-UP

2шт.

13

01011-52730

BOLT

SN: 60001-UP

2шт.

14

01643-32780

WASHER

SN: 60001-UP

4шт.

15

01580-12722

NUT

SN: 60001-UP

2шт.

Выбрано товаров: 15