Запчасти Komatsu D65P-12 БОКОВ. КРЫШКА ДВИГ. (ВЕРХН.) (ДЛЯ EC) ЧАСТИ КОРПУСА

Схема запчастей Komatsu D65P-12 - БОКОВ. КРЫШКА ДВИГ. (ВЕРХН.) (ДЛЯ EC) ЧАСТИ КОРПУСА
FIT
1:1
100%

Артикул

Название

Примечание

Количество

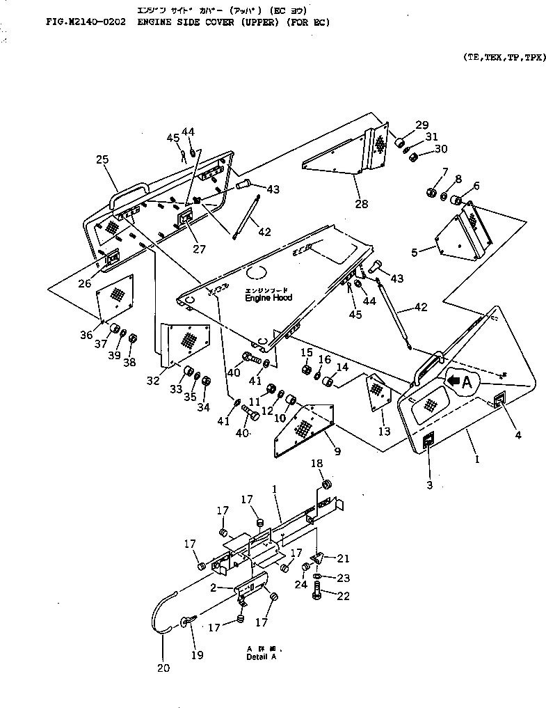
1

14X-A62-1310

COVER,L.H.

SN: 60001-UP

1шт.

2

14X-54-12731

HINGE (WELDED)

SN: 60001-UP

1шт.

3

17A-54-14230

LOCK (WELDED)

SN: 60001-UP

1шт.

4

17A-54-14240

LOCK (WELDED)

SN: 60001-UP

1шт.

5

14X-A62-1330

ABSORBER

SN: 60001-UP

1шт.

6

14X-A62-1480

SPACER

SN: 60001-UP

8шт.

7

01580-10806

NUT

SN: 60001-UP

8шт.

8

12S-911-1650

WASHER

SN: 60001-UP

8шт.

9

14X-A62-1350

ABSORBER

SN: 60001-UP

1шт.

10

14X-A62-1480

SPACER

SN: 60001-UP

10шт.

11

01580-10806

NUT

SN: 60001-UP

10шт.

12

12S-911-1650

WASHER

SN: 60001-UP

10шт.

13

14X-A62-1370

ABSORBER

SN: 60001-UP

1шт.

14

14X-A62-1490

SPACER

SN: 60001-UP

4шт.

15

01580-10806

NUT

SN: 60001-UP

4шт.

16

12S-911-1650

WASHER

SN: 60001-UP

4шт.

17

09415-01008

CAP

SN: 60001-UP

11шт.

18

08037-01610

GROMMET

SN: 60001-UP

1шт.

19

14X-54-12770

HOLDER

SN: 60001-UP

1шт.

20

14X-54-12750

HOLDER

SN: 60001-UP

1шт.

21

14X-54-12761

GUIDE

SN: 60001-UP

1шт.

22

01010-51020

BOLT

SN: 60001-UP

1шт.

23

01643-31032

WASHER

SN: 60001-UP

1шт.

24

09415-01008

CAP

SN: 60001-UP

1шт.

25

14X-A62-1320

COVER,R.H.

SN: 60001-UP

1шт.

26

17A-54-14230

LOCK (WELDED)

SN: 60001-UP

1шт.

27

17A-54-14240

LOCK (WELDED)

SN: 60001-UP

1шт.

28

14X-A62-1340

ABSORBER

SN: 60001-UP

1шт.

29

14X-A62-1480

SPACER

SN: 60001-UP

8шт.

30

01580-10806

NUT

SN: 60001-UP

8шт.

31

12S-911-1650

WASHER

SN: 60001-UP

8шт.

32

14X-A62-1360

ABSORBER

SN: 60001-UP

1шт.

33

14X-A62-1480

SPACER

SN: 60001-UP

6шт.

34

01580-10806

NUT

SN: 60001-UP

6шт.

35

12S-911-1650

WASHER

SN: 60001-UP

6шт.

36

14X-A62-1380

ABSORBER

SN: 60001-UP

1шт.

37

14X-A62-1490

SPACER

SN: 60001-UP

5шт.

38

01580-10806

NUT

SN: 60001-UP

5шт.

39

12S-911-1650

WASHER

SN: 60001-UP

5шт.

40

01010-51025

BOLT

SN: 60001-UP

16шт.

41

01643-31032

WASHER

SN: 60001-UP

16шт.

42

14X-54-12780

SPRING, GAS

SN: 60001-UP

2шт.

43

04205-10828

PIN

SN: 60001-UP

4шт.

44

01641-20812

WASHER

SN: 60001-UP

4шт.

45

04050-12015

PIN,COTTER

SN: 60001-UP

4шт.

Выбрано товаров: 45