Запчасти Komatsu D65P-12 ДОПОЛН. ТОПЛИВН. ФИЛЬТР ТОПЛИВН. БАК. AND КОМПОНЕНТЫ

Схема запчастей Komatsu D65P-12 - ДОПОЛН. ТОПЛИВН. ФИЛЬТР ТОПЛИВН. БАК. AND КОМПОНЕНТЫ
FIT
1:1
100%

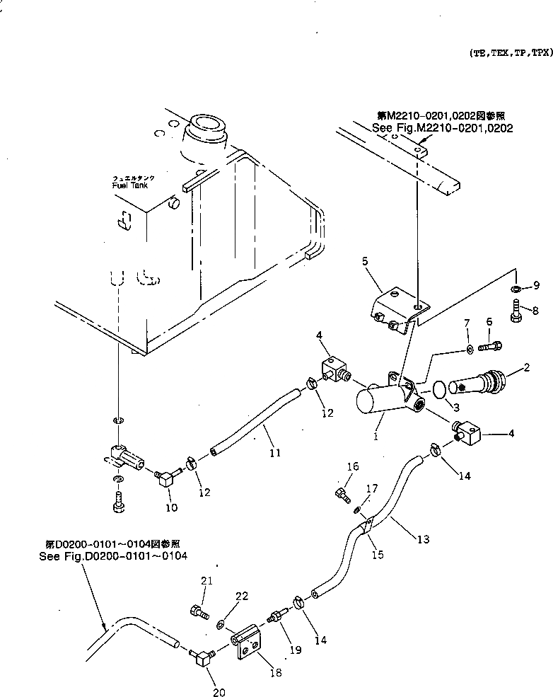
Артикул

Название

Примечание

Количество

1

07058-00001

CASE

SN: 60001-UP

1шт.

2

154-04-12531

STRAINER

SN: 60001-UP

1шт.

3

07002-04234

O-RING

SN: 60001-UP

1шт.

4

195-04-11431

ELBOW

SN: 60001-UP

2шт.

5

155-04-11211

BRACKET

SN: 60001-UP

1шт.

6

01010-50825

BOLT

SN: 60001-UP

2шт.

7

01643-30823

WASHER

SN: 60001-UP

2шт.

8

01010-51225

BOLT

SN: 60001-UP

2шт.

9

01643-31232

WASHER

SN: 60001-UP

2шт.

10

14X-04-11260

ELBOW

SN: 60001-UP

1шт.

11

14X-04-11230

HOSE

SN: 60001-UP

1шт.

12

07281-00197

CLAMP

SN: 60001-UP

2шт.

13

14X-04-11240

HOSE

SN: 60001-UP

1шт.

14

07281-00197

CLAMP

SN: 60001-UP

2шт.

15

08036-01814

CLIP

SN: 60001-UP

1шт.

16

01010-51016

BOLT

SN: 60001-UP

1шт.

17

01643-31032

WASHER

SN: 60001-UP

1шт.

18

14X-04-11250

BLOCK

SN: 60001-UP

1шт.

19

120-04-41130

NIPPLE

SN: 60001-UP

1шт.

20

14X-04-11260

ELBOW

SN: 60001-UP

1шт.

21

01010-51225

BOLT

SN: 60001-UP

2шт.

22

01643-31232

WASHER

SN: 60001-UP

2шт.

Выбрано товаров: 0