Запчасти Komatsu D65P-12 ПРЯМ. РАМА РАБОЧЕЕ ОБОРУДОВАНИЕ

Схема запчастей Komatsu D65P-12 - ПРЯМ. РАМА РАБОЧЕЕ ОБОРУДОВАНИЕ
FIT
1:1
100%

Артикул

Название

Примечание

Количество

|$1

14Y-71-00010

FRAME ASS'Y,L.H.

SN: 60001-UP

1шт.

|$2

14Y-71-00020

FRAME ASS'Y,R.H.

SN: 60001-UP

1шт.

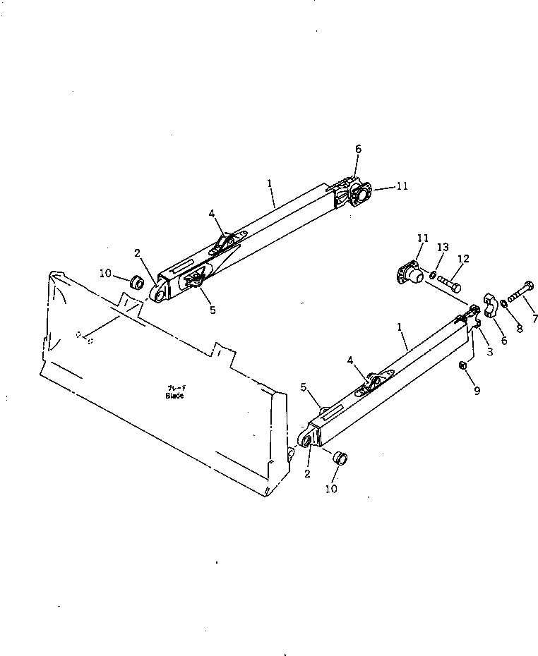
1

0

FRAME,L.H.

SN: 60001-UP

1шт.

1

0

FRAME,R.H.

SN: 60001-UP

1шт.

2

14Y-71-13160

JOINT (WELDED)

SN: 60001-UP

1шт.

3

0

BEARING,(WELDED) (KIT)

SN: 60001-UP

1шт.

4

14Y-71-12170

BRACKET (WELDED)

SN: 60001-UP

1шт.

5

14Y-71-13180

BRACKET (WELDED)

SN: 60001-UP

1шт.

6

14Y-71-12150

CAP (KIT)

SN: 60001-UP

2шт.

7

01011-82465

BOLT (KIT)

SN: 60001-UP

4шт.

8

01643-32460

WASHER (KIT)

SN: 60001-UP

4шт.

9

130-70-13241

NUT (KIT)

SN: 60001-UP

4шт.

10

14X-71-12230

BEARING

SN: 60001-UP

2шт.

11

14Y-71-13211

TRUNNION

SN: 60001-UP

2шт.

12

01010-52065

BOLT

SN: 60001-UP

16шт.

13

01643-32060

WASHER

SN: 60001-UP

16шт.

|$$17

SERVICE KIT

-1шт.

3

14Y-71-00070

PIVOT ASS'Y

SN: 60001-UP

2шт.

3

0

BEARING

SN: 60001-UP

1шт.

6

14Y-71-12150

CAP

SN: 60001-UP

1шт.

7

01011-82465

BOLT

SN: 60001-UP

2шт.

8

01643-32460

WASHER

SN: 60001-UP

2шт.

9

130-70-13241

NUT

SN: 60001-UP

2шт.

Выбрано товаров: 23