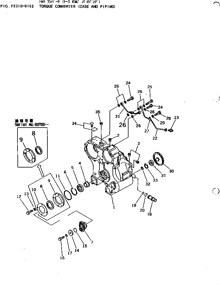
Запчасти Komatsu D65P-12 ГИДРОТРАНСФОРМАТОР (КОРПУС И ТРУБЫ) СИЛОВАЯ ПЕРЕДАЧА И КОНЕЧНАЯ ПЕРЕДАЧА

Схема запчастей Komatsu D65P-12 - ГИДРОТРАНСФОРМАТОР (КОРПУС И ТРУБЫ) СИЛОВАЯ ПЕРЕДАЧА И КОНЕЧНАЯ ПЕРЕДАЧА
FIT
1:1
100%

Артикул

Название

Примечание

Количество

1

14X-13-13111

CASE

SN: 60001-UP

1шт.

2

07043-70108

PLUG

SN: 60001-UP

8шт.

3

07043-70617

PLUG

SN: 60001-UP

2шт.

4

14X-13-11370

SPACER

SN: 60001-UP

1шт.

5

06032-01016

BEARING

SN: 60001-UP

1шт.

6

04071-00125

RING,SNAP

SN: 60001-UP

1шт.

7

14X-13-11360

COUPLING

SN: 60001-UP

1шт.

8

07012-10110

SEAL,OIL (K1)

SN: 60001-UP

1шт.

9

14X-13-13351

RETAINER

SN: 60700-UP

1шт.

9

14X-13-13350

RETAINER

SN: 60001-60699

1шт.

10

14X-13-13360

PLATE

SN: 60001-60699

1шт.

11

07000-75160

O-RING (K1)

SN: 60001-UP

1шт.

12

01010-51235

BOLT

SN: 60001-UP

4шт.

13

01643-31232

WASHER

SN: 60001-UP

4шт.

14

22W-15-16270

HOLDER

SN: 60001-UP

1шт.

15

07000-75055

O-RING (K1)

SN: 60001-UP

1шт.

16

01050-51670

BOLT

SN: 60001-UP

1шт.

17

01643-31645

WASHER

SN: 60001-UP

1шт.

18

14X-13-12550

SLEEVE

SN: 60001-UP

2шт.

19

07000-73030

O-RING (K1)

SN: 60001-UP

2шт.

20

07000-73032

O-RING (K1)

SN: 60001-UP

2шт.

21

14X-10-11320

TUBE

SN: 60001-UP

1шт.

22

14X-13-13261

TUBE

SN: 60001-UP

1шт.

23

07213-50813

CONNECTOR

SN: 60001-UP

1шт.

24

07206-30812

BOLT

SN: 60001-UP

2шт.

25

14X-10-11330

JOINT

SN: 60001-UP

1шт.

26

07005-01212

GASKET (K1)

SN: 60001-UP

7шт.

27

232-43-14170

CLIP

SN: 60001-UP

1шт.

28

01010-51020

BOLT

SN: 60001-UP

1шт.

29

01643-31032

WASHER

SN: 60001-UP

1шт.

30

14X-13-14110

GEAR

SN: 60001-UP

1шт.

31

06030-05207

BEARING

SN: 60001-UP

1шт.

32

04064-03515

RING,SNAP

SN: 60001-UP

1шт.

33

04065-07225

RING,SNAP

SN: 60001-UP

1шт.

34

09607-05080

PLATE, NAME,(LIMITED SUPPLY)

SN: 60001-UP

1шт.

34

04418-13060

SCREW

SN: 60001-UP

4шт.

35

07048-02216

PLUG

SN: 60001-UP

1шт.

Выбрано товаров: 37