Запчасти Komatsu D65P-12 АККУМУЛЯТОР ЭЛЕКТРОПРОВОДКА ЭЛЕКТРИКА

Схема запчастей Komatsu D65P-12 - АККУМУЛЯТОР ЭЛЕКТРОПРОВОДКА ЭЛЕКТРИКА
FIT
1:1
100%

Артикул

Название

Примечание

Количество

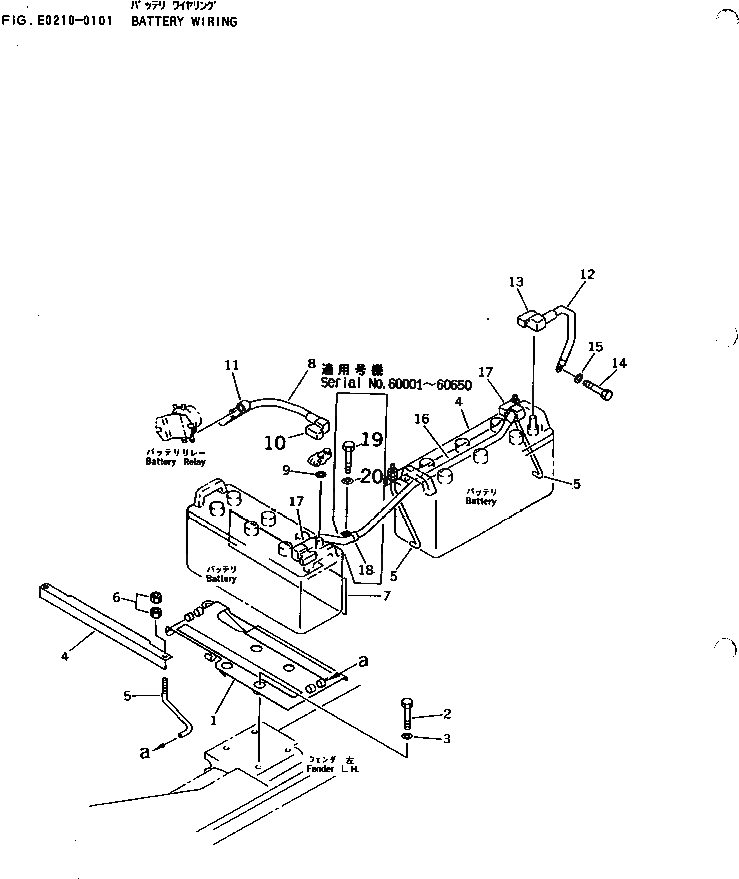
1

14X-54-13173

PLATE

SN: 60001-UP

1шт.

2

01010-51225

BOLT

SN: 60001-UP

4шт.

3

01643-31232

WASHER

SN: 60001-UP

4шт.

4

14X-06-12240

HOLDER

SN: 60001-UP

2шт.

5

120-06-31151

BOLT

SN: 60001-UP

4шт.

6

01580-11008

NUT

SN: 60001-UP

8шт.

7

120-06-31171

PLATE

SN: 60001-UP

1шт.

8

08028-44040

CABLE

SN: 60001-UP

1шт.

|8

08028-45040

CABLE,(FOR LARGE CAPACITY)

SN: 60001-UP

1шт.

9

01643-31032

WASHER

SN: 60001-UP

1шт.

10

14X-06-12260

COVER,L.H.

SN: 60001-UP

1шт.

11

08038-00035

CAP

SN: 60001-UP

1шт.

12

08028-44040

CABLE

SN: 60651-UP

1шт.

|12

14X-06-14250

CABLE

SN: 60001-60650

1шт.

|12

08028-45040

CABLE,(FOR LARGE CAPACITY)

SN: 60651-UP

1шт.

|12

14X-06-14720

CABLE,(FOR LARGE CAPACITY)

SN: 60001-60650

1шт.

13

14X-06-12260

COVER,L.H.

SN: 60001-UP

1шт.

14

01010-51016

BOLT

SN: 60001-UP

1шт.

15

01643-31032

WASHER

SN: 60001-UP

1шт.

16

08028-44070

CABLE

SN: 60651-UP

1шт.

|16

14X-06-14260

CABLE

SN: 60001-60650

1шт.

|16

08028-45070

WIRE,(FOR LARGE CAPACITY)

SN: 60651-UP

1шт.

|16

14X-06-14730

CABLE,(FOR LARGE CAPACITY)

SN: 60001-60650

1шт.

17

14X-06-12270

COVER,R.H.

SN: 60001-UP

2шт.

18

08036-01814

CLIP

SN: 60001-60650

1шт.

19

01010-51016

BOLT

SN: 60001-60650

1шт.

20

01643-31032

WASHER

SN: 60001-60650

1шт.

Выбрано товаров: 27